专利数据库
统计分析
产业报告
专利数据监控
产业人才
行业动态
产业政策法规
维权援助
个人中心
详情
文本
图像
标题
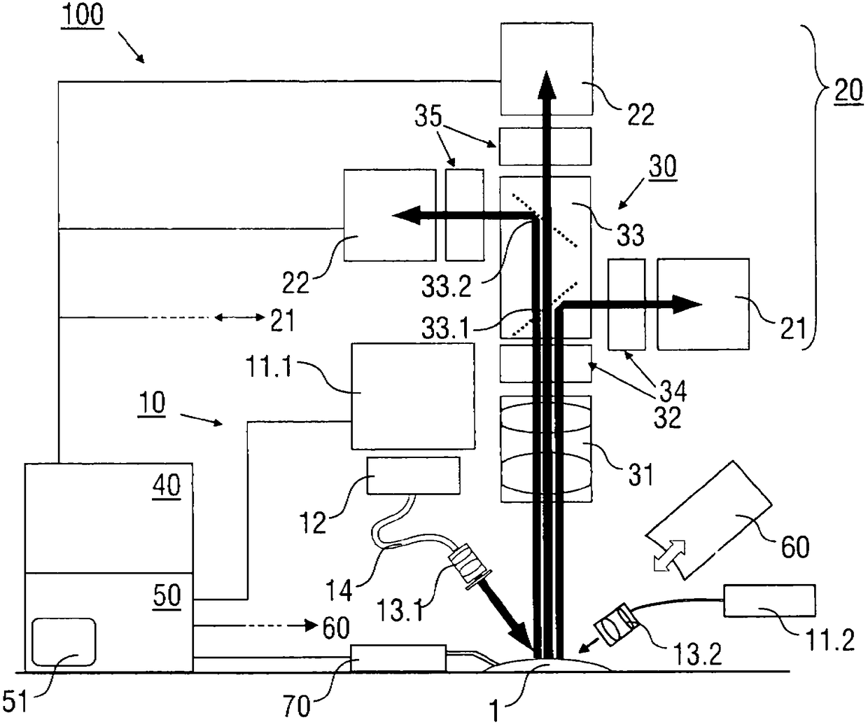
多光谱光子成像的方法和装置
授权日
1900-01-01
公开(公告)号
CN102892348A
申请日
2010-11-15
公开(公告)日
2013-01-23
当前申请(专利权)人
健康与环境慕尼黑德国研究中心赫姆霍茨中心(有限责任公司)
发明人
V・恩齐亚赫里斯托斯 | G・塞梅利斯
简单同族
CA2789051A1 | CN102892348A | CN102892348B | EP2359745A1 | EP2533682A1 | JP2013519867A | JP2015232574A | JP5986670B2 | US10314490 | US20130041267A1 | US20180177399A1 | US9918640 | WO2011098101A1
简单同族成员数量
13
简单同族被引用专利总数
97
诉讼案件数
0
法律状态/事件
授权
抱歉,您的浏览器不支持PDF预览,请点击链接下载PDF文件