专利数据库
统计分析
产业报告
专利数据监控
产业人才
行业动态
产业政策法规
维权援助
个人中心
详情
文本
图像
标题
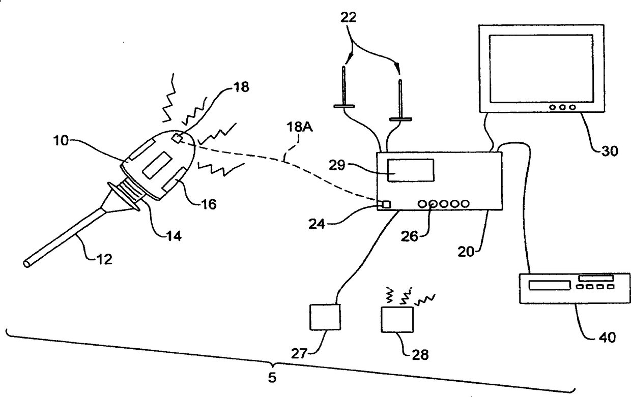
无线内窥摄像机
授权日
2012-10-03
公开(公告)号
CN101541228B
申请日
2007-11-15
公开(公告)日
2012-10-03
当前申请(专利权)人
斯特赖克公司
发明人
R·卡弗 | E·麦卡锡 | V·纳姆巴卡姆
简单同族
AU2007322085A1 | AU2007322085B2 | CA2667732A1 | CA2667732C | CN101541228A | CN101541228B | EP2086385A2 | EP2086385B1 | JP2010509990A | JP2010509990A5 | JP5395671B2 | KR101444485B1 | KR1020090082894A | US10667671 | US20080139881A1 | US20130324794A1 | US8545396 | WO2008063565A2 | WO2008063565A3
简单同族成员数量
19
简单同族被引用专利总数
178
诉讼案件数
0
法律状态/事件
授权
抱歉,您的浏览器不支持PDF预览,请点击链接下载PDF文件