专利数据库
统计分析
产业报告
专利数据监控
产业人才
行业动态
产业政策法规
维权援助
个人中心
详情
文本
图像
标题
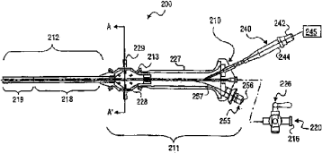
一种子宫内的装置及其使用方法
授权日
1900-01-01
公开(公告)号
CN1523971A
申请日
2002-01-14
公开(公告)日
2004-08-25
当前申请(专利权)人
纳波利有限公司
发明人
M·M·卡姆拉瓦 | J·E·麦克唐纳
简单同族
AT374577T | AU2002239902A1 | CN1313059C | CN1523971A | DE60222735D1 | DE60222735T2 | EP1351612A2 | EP1351612B1 | HK1069097A | HK1069097A1 | JP2004533864A | JP4087710B2 | US20040122286A1 | US8469876 | WO2002067772A2 | WO2002067772A3
简单同族成员数量
16
简单同族被引用专利总数
36
诉讼案件数
0
法律状态/事件
未缴年费
抱歉,您的浏览器不支持PDF预览,请点击链接下载PDF文件