专利数据库
统计分析
产业报告
专利数据监控
产业人才
行业动态
产业政策法规
维权援助
个人中心
详情
文本
图像
标题
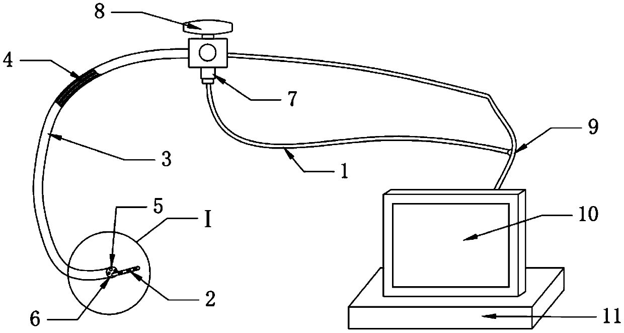
一种胃肠道黏膜上皮电阻抗测量评估装置
授权日
2020-01-10
公开(公告)号
CN209915992U
申请日
2019-02-15
公开(公告)日
2020-01-10
当前申请(专利权)人
华中科技大学同济医学院附属协和医院
发明人
向雪莲 | 张小昊 | 许军英 | 白涛 | 谢小平 | 刘俊 | 侯晓华
简单同族
CN209915992U
简单同族成员数量
1
简单同族被引用专利总数
0
诉讼案件数
0
法律状态/事件
授权
抱歉,您的浏览器不支持PDF预览,请点击链接下载PDF文件