专利数据库
统计分析
产业报告
专利数据监控
产业人才
行业动态
产业政策法规
维权援助
个人中心
详情
文本
图像
标题
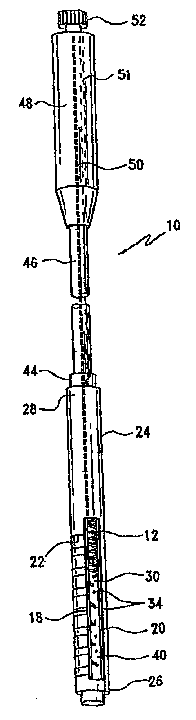
带有螺旋形壁锚固件的单程胃限制器
授权日
2010-11-03
公开(公告)号
CN1911180B
申请日
2006-08-04
公开(公告)日
2010-11-03
当前申请(专利权)人
伊西康内外科公司
发明人
马克·S·奥尔蒂斯 | 戴维·B·格里菲思
简单同族
AT420597T | AU2006203030A1 | AU2006203030B2 | BRPI0603185A | BRPI0603185A2 | CA2555433A1 | CN1911180A | CN1911180B | DE602006004799D1 | EP1749483A2 | EP1749483A3 | EP1749483B1 | JP2007044516A | JP4948933B2 | US20070032797A1 | US8252006
简单同族成员数量
16
简单同族被引用专利总数
54
诉讼案件数
0
法律状态/事件
未缴年费
抱歉,您的浏览器不支持PDF预览,请点击链接下载PDF文件