专利数据库
统计分析
产业报告
专利数据监控
产业人才
行业动态
产业政策法规
维权援助
个人中心
详情
文本
图像
标题
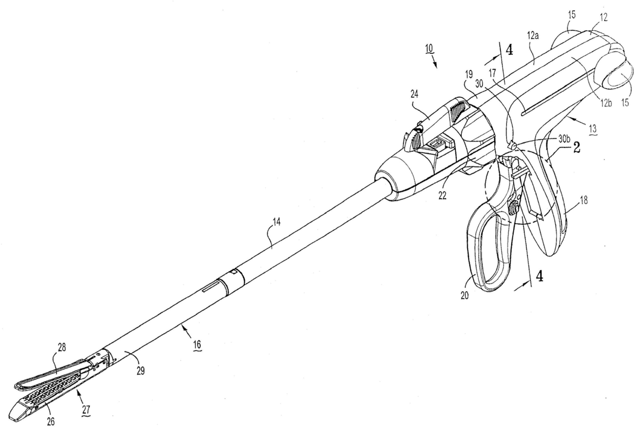
抓紧钳机构
授权日
1900-01-01
公开(公告)号
CN102688074A
申请日
2007-10-08
公开(公告)日
2012-09-26
当前申请(专利权)人
柯惠LP公司
发明人
保罗·A·西里卡
简单同族
AU2007221784A1 | AU2007221784B2 | CA2604994A1 | CA2604994C | CA2895725A1 | CA2895725C | CA3003793A1 | CN101156801A | CN101156801B | CN101940483A | CN101940483B | CN102688074A | CN102688074B | DE602007004051D1 | EP1908410A1 | EP1908410B1 | ES2337842T3 | JP2008093421A | JP2012254323A | JP2014193299A | JP5268184B2 | JP5529222B2 | US10441282 | US20080083806A1 | US20130087600A1 | US20160270786A1 | US20200008805A1 | US8336751 | US9364218
简单同族成员数量
29
简单同族被引用专利总数
154
诉讼案件数
0
法律状态/事件
授权
抱歉,您的浏览器不支持PDF预览,请点击链接下载PDF文件