专利数据库
统计分析
产业报告
专利数据监控
产业人才
行业动态
产业政策法规
维权援助
个人中心
详情
文本
图像
标题
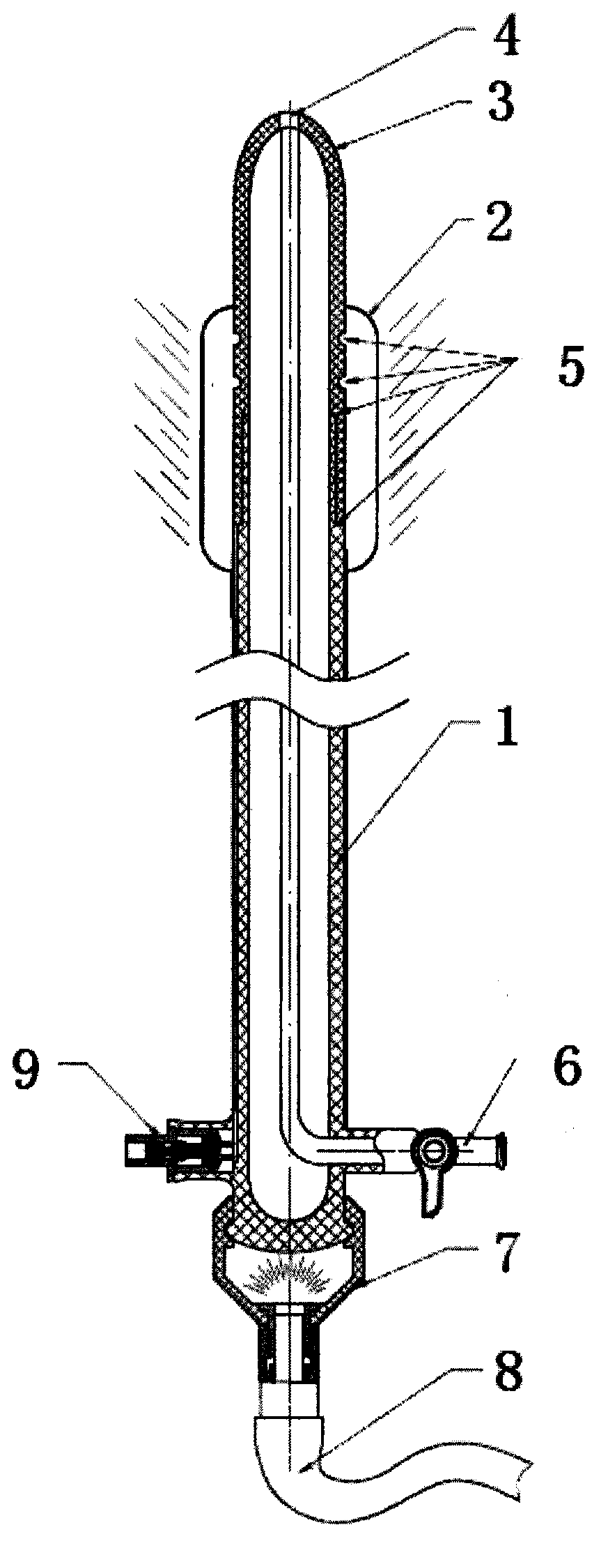
直肠探测装置、使用方法及用途
授权日
1900-01-01
公开(公告)号
CN105342546A
申请日
2015-09-23
公开(公告)日
2016-02-24
当前申请(专利权)人
王永军
发明人
王永军 | 王卉 | 王永梅
简单同族
CN105342546A
简单同族成员数量
1
简单同族被引用专利总数
0
诉讼案件数
0
法律状态/事件
撤回
抱歉,您的浏览器不支持PDF预览,请点击链接下载PDF文件