专利数据库
统计分析
产业报告
专利数据监控
产业人才
行业动态
产业政策法规
维权援助
个人中心
详情
文本
图像
标题
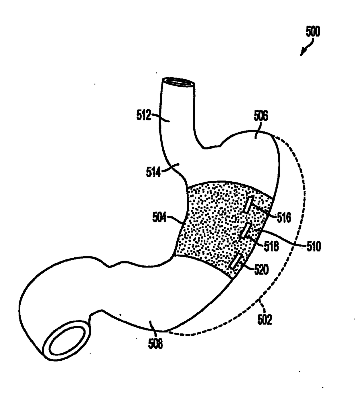
用于治疗肥胖的具有可填充管腔和脱落机构的胃用约束装置
授权日
1900-01-01
公开(公告)号
CN102307530A
申请日
2009-12-02
公开(公告)日
2012-01-04
当前申请(专利权)人
翁西奥美德公司
发明人
R.尼哈拉尼
简单同族
AU2009322468A1 | CA2745902A1 | CA2745902C | CN102307530A | CN102307530B | CN104622531A | CN104622531B | EP2370003A2 | EP2370003A4 | EP2370003B1 | IL213388A | IL213388D0 | JP2012510866A | US20100145324A1 | US8911346 | WO2010065654A2 | WO2010065654A3
简单同族成员数量
17
简单同族被引用专利总数
35
诉讼案件数
0
法律状态/事件
授权
抱歉,您的浏览器不支持PDF预览,请点击链接下载PDF文件