专利数据库
统计分析
产业报告
专利数据监控
产业人才
行业动态
产业政策法规
维权援助
个人中心
详情
文本
图像
标题
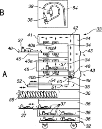
用于蒸汽杀菌的储存设备
授权日
1900-01-01
公开(公告)号
CN1717255A
申请日
2003-10-22
公开(公告)日
2006-01-04
当前申请(专利权)人
奥林巴斯株式会社
发明人
黑岛尚士 | 铃木英理 | 长谷川准 | 野口利昭
简单同族
CN100453120C | CN1717255A | EP1566185A1 | EP1566185A4 | JP2004173850A | US20040101456A1 | WO2004047876A1
简单同族成员数量
7
简单同族被引用专利总数
95
诉讼案件数
0
法律状态/事件
未缴年费
抱歉,您的浏览器不支持PDF预览,请点击链接下载PDF文件