专利数据库
统计分析
产业报告
专利数据监控
产业人才
行业动态
产业政策法规
维权援助
个人中心
详情
文本
图像
标题
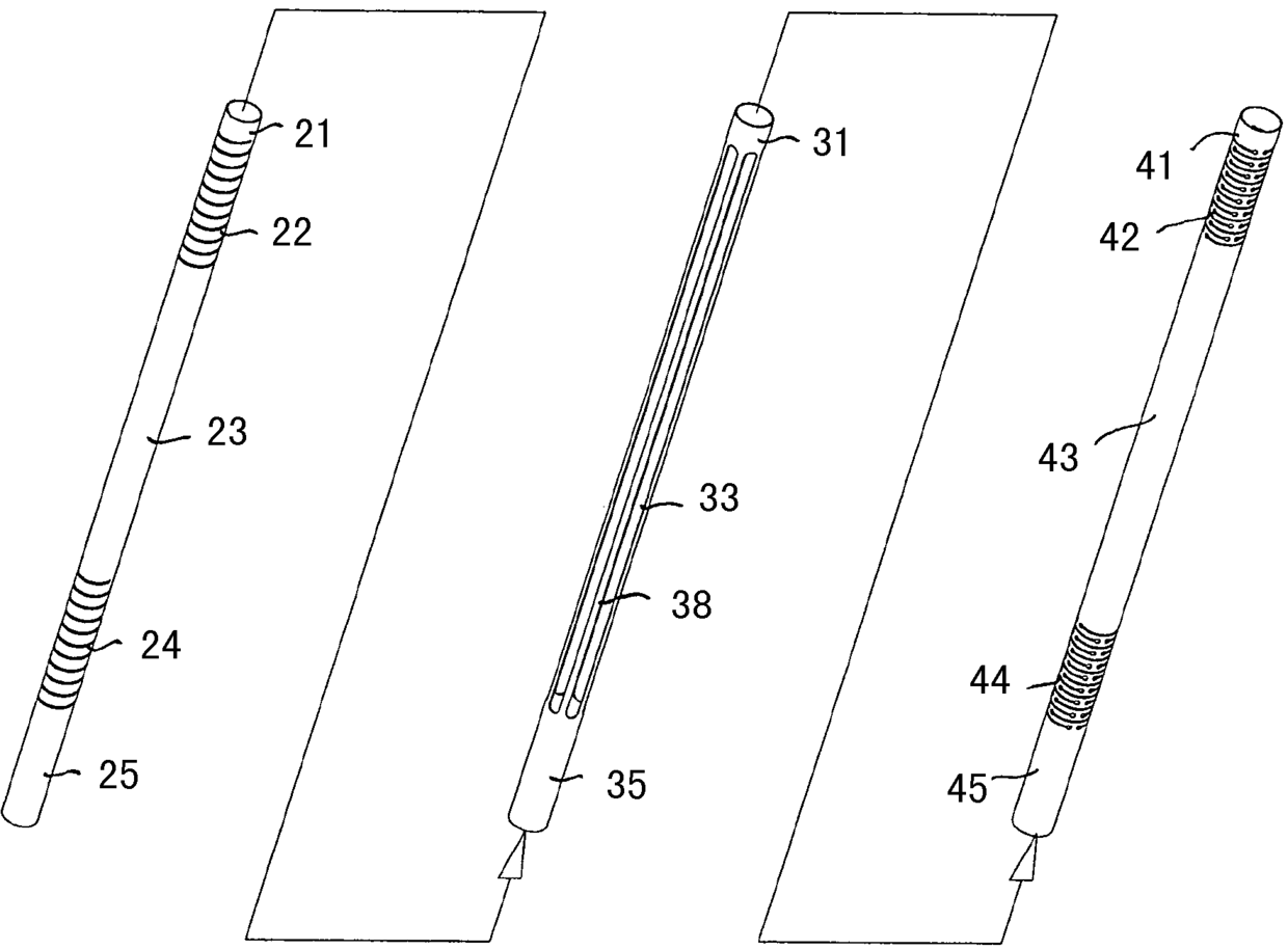
器具及其制造方法
授权日
1900-01-01
公开(公告)号
CN104337491A
申请日
2008-06-30
公开(公告)日
2015-02-11
当前申请(专利权)人
福蒂美迪克斯外科医疗器材有限公司
发明人
M.A.E.弗比克
简单同族
BRPI0822419A2 | BRPI0822419A8 | CN102006815A | CN102006815B | CN104337491A | CN104337491B | EA018560B1 | EA201071049A1 | EA201300520A1 | EP2273911A1 | EP2273911B1 | EP2762058A1 | EP2762058B1 | EP2915476A1 | EP2915476B1 | EP3219249A1 | EP3219249B1 | EP3524130A1 | EP3610777A1 | ES2541117T3 | ES2562918T3 | ES2750844T3 | JP2011517290A | JP2011517290A5 | JP5331826B2 | KR101323965B1 | KR1020110002030A | US10328241 | US20110034764A1 | US20150151080A1 | US20180099119A1 | US20190255291A1 | US20200030576A1 | US8986317 | WO2009112060A1
简单同族成员数量
35
简单同族被引用专利总数
75
诉讼案件数
0
法律状态/事件
授权
抱歉,您的浏览器不支持PDF预览,请点击链接下载PDF文件