专利数据库
统计分析
产业报告
专利数据监控
产业人才
行业动态
产业政策法规
维权援助
个人中心
详情
文本
图像
标题
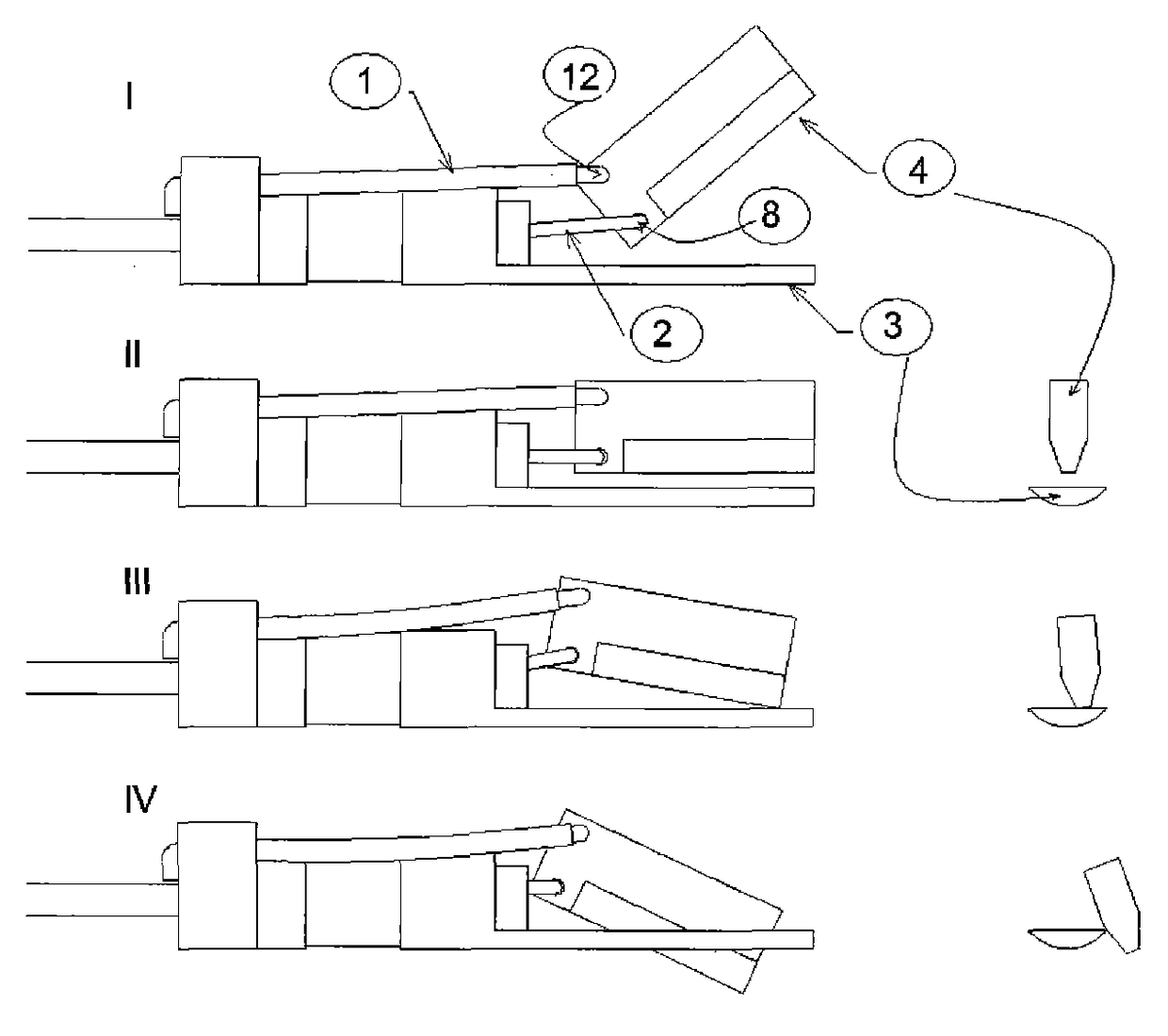
微波内窥镜钳子
授权日
2012-03-07
公开(公告)号
CN101553177B
申请日
2007-11-08
公开(公告)日
2012-03-07
当前申请(专利权)人
微米滋贺株式会社
发明人
保坂诚 | 谷彻 | 来见良诚 | 仲成幸
简单同族
AT506905T | CN101553177A | CN101553177B | DE602007014245D1 | EP2082694A1 | EP2082694A4 | EP2082694B1 | JP5100661B2 | JPWO2008056732A1 | JPWO2008056732A5 | KR101156817B1 | KR1020090077798A | US20100023001A1 | US8313483 | WO2008056732A1
简单同族成员数量
15
简单同族被引用专利总数
26
诉讼案件数
0
法律状态/事件
授权 | 权利转移
抱歉,您的浏览器不支持PDF预览,请点击链接下载PDF文件