专利数据库
统计分析
产业报告
专利数据监控
产业人才
行业动态
产业政策法规
维权援助
个人中心
详情
文本
图像
标题
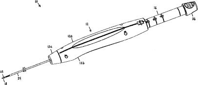
挠性内窥镜安全针
授权日
1900-01-01
公开(公告)号
CN101066224A
申请日
2007-04-29
公开(公告)日
2007-11-07
当前申请(专利权)人
伊西康内外科公司
发明人
S·P·康伦 | O·瓦克哈里亚 | D·利嫩库格尔
简单同族
AU2007201668A1 | AU2007201668B2 | CA2586902A1 | CA2586902C | CN101066224A | CN101066224B | DE602007003255D1 | EP1867291A2 | EP1867291A3 | EP1867291B1 | EP1867291B2 | HK1114322A | HK1114322A1 | JP2007296350A | JP5345297B2 | US20070255306A1 | US8328836
简单同族成员数量
17
简单同族被引用专利总数
127
诉讼案件数
0
法律状态/事件
授权
抱歉,您的浏览器不支持PDF预览,请点击链接下载PDF文件