专利数据库
统计分析
产业报告
专利数据监控
产业人才
行业动态
产业政策法规
维权援助
个人中心
详情
文本
图像
标题
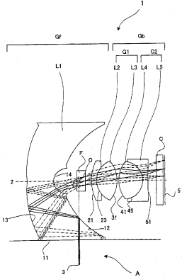
光学元件、具有该光学元件的光学系统及应用该光学元件的内窥镜
授权日
1900-01-01
公开(公告)号
CN101688970A
申请日
2008-07-08
公开(公告)日
2010-03-31
当前申请(专利权)人
奥林巴斯株式会社
发明人
研野孝吉
简单同族
CN101688970A | CN101688970B | EP2172798A1 | EP2172798A4 | EP2172798B1 | US20100110564A1 | US8254038 | WO2009008536A1
简单同族成员数量
8
简单同族被引用专利总数
79
诉讼案件数
0
法律状态/事件
授权
抱歉,您的浏览器不支持PDF预览,请点击链接下载PDF文件