专利数据库
统计分析
产业报告
专利数据监控
产业人才
行业动态
产业政策法规
维权援助
个人中心
详情
文本
图像
标题
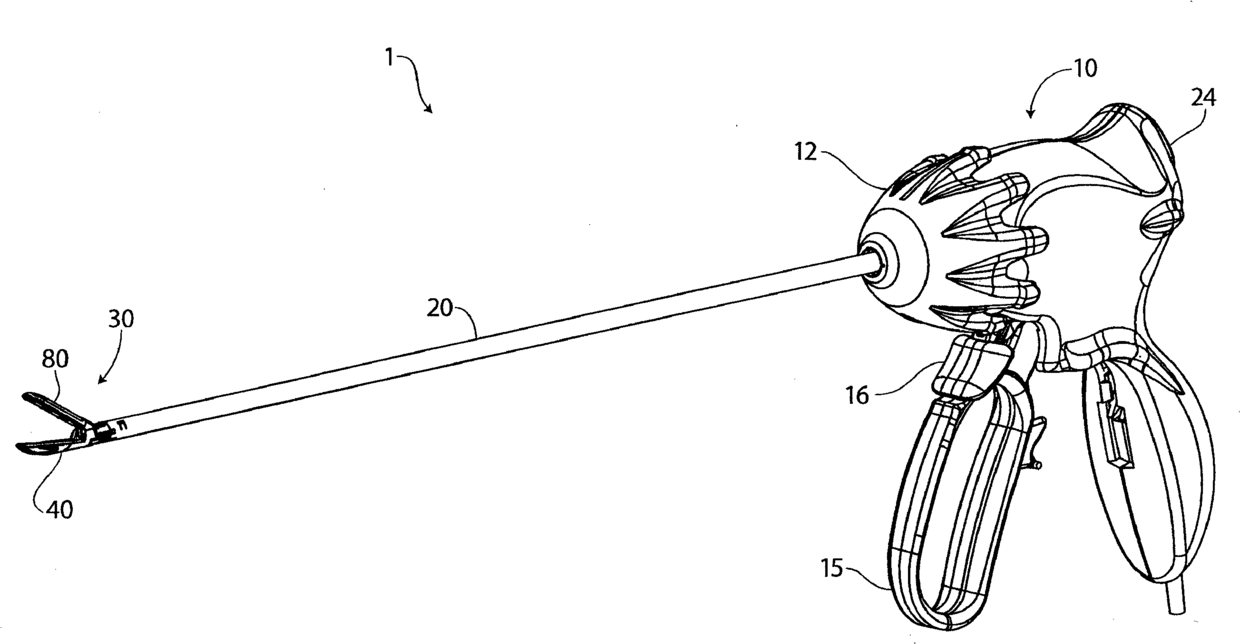
腹腔镜射频手术装置
授权日
2016-04-20
公开(公告)号
CN102596080B
申请日
2011-02-04
公开(公告)日
2016-04-20
当前申请(专利权)人
蛇牌股份公司
发明人
E·瓦尔贝格 | B·劳德米尔克
简单同族
AU2011212786A1 | AU2011212786B2 | AU2011212786C1 | BR112012003356A2 | CA2766945A1 | CN102596080A | CN102596080B | EP2459093A2 | EP2459093A4 | EP2459093B1 | ES2436516T3 | HK1168019A | JP2013518681A | JP2015186579A | JP2017119219A | JP6182564B2 | JP6337174B2 | KR101733942B1 | KR101786410B1 | KR1020120139661A | KR1020160073420A | KR1020160073421A | MX2012001235A | RU2012103483A | US20110184404A1 | US20180185087A1 | US9918778 | WO2011097469A2 | WO2011097469A3
简单同族成员数量
29
简单同族被引用专利总数
78
诉讼案件数
0
法律状态/事件
授权
抱歉,您的浏览器不支持PDF预览,请点击链接下载PDF文件