专利数据库
统计分析
产业报告
专利数据监控
产业人才
行业动态
产业政策法规
维权援助
个人中心
详情
文本
图像
标题
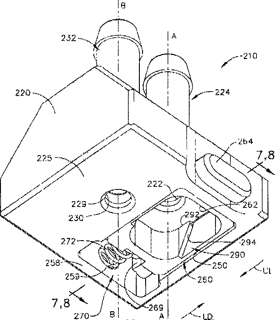
快速断开流体连接器
授权日
2014-08-20
公开(公告)号
CN102186399B
申请日
2009-10-05
公开(公告)日
2014-08-20
当前申请(专利权)人
伊西康公司
发明人
N·N·阮 | W·弗兰科维奇 | P·康塞尔
简单同族
AU2009303650A1 | AU2009303650B2 | BRPI0920189A2 | CA2740426A1 | CA2740426C | CN102186399A | CN102186399B | EP2361032A1 | EP2361032B1 | ES2406689T3 | JP2012505033A | JP5694173B2 | MX2011003960A | MX320800B | PL2361032T3 | RU2011119111A | RU2515294C2 | US20120007352A1 | US9433771 | WO2010045052A1
简单同族成员数量
20
简单同族被引用专利总数
25
诉讼案件数
0
法律状态/事件
授权
抱歉,您的浏览器不支持PDF预览,请点击链接下载PDF文件