专利数据库
统计分析
产业报告
专利数据监控
产业人才
行业动态
产业政策法规
维权援助
个人中心
详情
文本
图像
标题
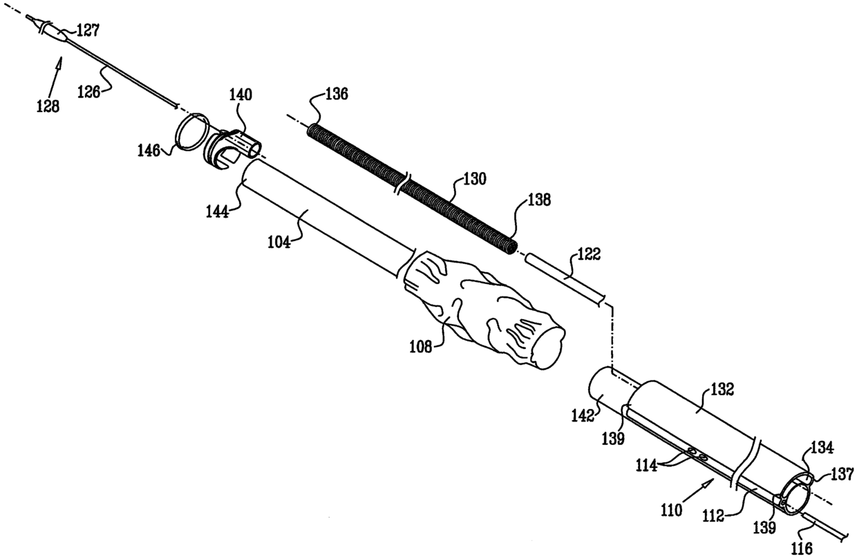
柔性内窥系统及其功能
授权日
1900-01-01
公开(公告)号
CN104887171A
申请日
2007-05-17
公开(公告)日
2015-09-09
当前申请(专利权)人
智能医疗系统有限公司
发明人
G·特柳克 | G·卢里亚 | O·沙弗兰
简单同族
AU2007252834A1 | AU2007252834B2 | CA2652424A1 | CA2652424C | CA2910478A1 | CA2910478C | CA2955328A1 | CA2955328C | CA2996574A1 | CN101522091A | CN101522091B | CN102697444A | CN102697444B | CN104887171A | CN104887171B | EP2020898A2 | EP2020898A4 | EP2020898B1 | JP2009537212A | JP2009537212A5 | JP2013013740A | JP2014239915A | JP2016047249A | JP2016052526A | JP2018161489A | JP5249928B2 | JP5903134B2 | JP6225153B2 | JP6352878B2 | JP6677760B2 | US20090187069A1 | US20130310641A1 | US20170100017A1 | US8480569 | US9661994 | WO2007135665A2 | WO2007135665A3
简单同族成员数量
37
简单同族被引用专利总数
88
诉讼案件数
0
法律状态/事件
授权
抱歉,您的浏览器不支持PDF预览,请点击链接下载PDF文件