专利数据库
统计分析
产业报告
专利数据监控
产业人才
行业动态
产业政策法规
维权援助
个人中心
详情
文本
图像
标题
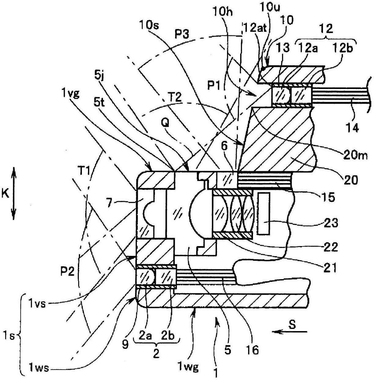
内窥镜
授权日
1900-01-01
公开(公告)号
CN102665529A
申请日
2011-05-06
公开(公告)日
2012-09-12
当前申请(专利权)人
奥林巴斯株式会社
发明人
本田一树 | 池田裕一 | 仓康人
简单同族
CN102665529A | CN102665529B | EP2476362A1 | EP2476362A4 | EP2476362B1 | JP4955838B2 | JPWO2012005049A1 | US20120157773A1 | WO2012005049A1
简单同族成员数量
9
简单同族被引用专利总数
32
诉讼案件数
0
法律状态/事件
授权 | 权利转移
抱歉,您的浏览器不支持PDF预览,请点击链接下载PDF文件