专利数据库
统计分析
产业报告
专利数据监控
产业人才
行业动态
产业政策法规
维权援助
个人中心
详情
文本
图像
标题
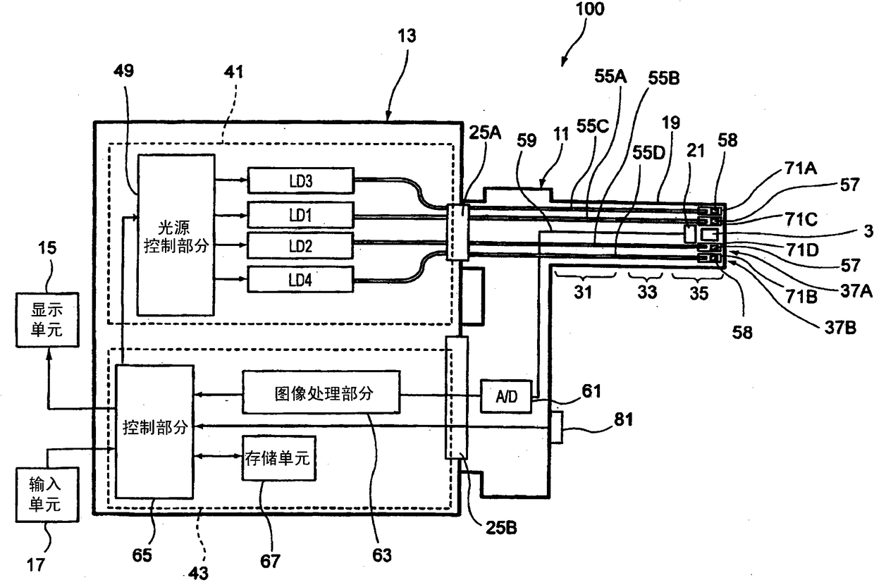
医疗设备和内窥镜设备
授权日
1900-01-01
公开(公告)号
CN102119846A
申请日
2010-12-31
公开(公告)日
2011-07-13
当前申请(专利权)人
富士胶片株式会社
发明人
江利川昭彦
简单同族
CN102119846A | EP2343006A1 | JP2011156339A | US20110172492A1
简单同族成员数量
4
简单同族被引用专利总数
42
诉讼案件数
0
法律状态/事件
撤回
抱歉,您的浏览器不支持PDF预览,请点击链接下载PDF文件