专利数据库
统计分析
产业报告
专利数据监控
产业人才
行业动态
产业政策法规
维权援助
个人中心
详情
文本
图像
标题
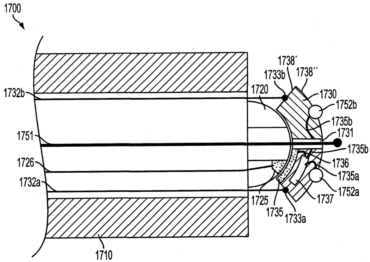
具有球形远端组件的多节内窥镜设备
授权日
2015-05-27
公开(公告)号
CN102292013B
申请日
2009-09-08
公开(公告)日
2015-05-27
当前申请(专利权)人
卡内基梅隆大学
发明人
B·朱比亚特 | H·乔赛特 | A·科尔布 | A·德加尼 | K·P·吉尔马汀 | J·C·弗拉赫尔蒂
简单同族
AU2009289450A1 | AU2009289450B2 | CA2736248A1 | CA2736248C | CN102292013A | CN102292013B | CN104887170A | CN104887170B | EP2330965A1 | EP2330965A4 | EP2330965B1 | EP3443911A1 | JP2012501758A | JP2012501758A5 | JP5656313B2 | US10568613 | US20110313243A1 | US20160361050A1 | US9370342 | WO2010028371A1
简单同族成员数量
20
简单同族被引用专利总数
44
诉讼案件数
0
法律状态/事件
授权
抱歉,您的浏览器不支持PDF预览,请点击链接下载PDF文件