专利数据库
统计分析
产业报告
专利数据监控
产业人才
行业动态
产业政策法规
维权援助
个人中心
详情
文本
图像
标题
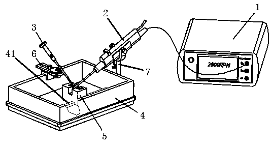
刨削刀头类手术器械切割性能的评价装置
授权日
2019-05-03
公开(公告)号
CN208808585U
申请日
2017-12-27
公开(公告)日
2019-05-03
当前申请(专利权)人
上海博进凯利泰医疗科技有限公司
发明人
徐少蓉 | 赖卫国 | 陈智 | 俞威 | 金远挺
简单同族
CN208808585U
简单同族成员数量
1
简单同族被引用专利总数
0
诉讼案件数
0
法律状态/事件
授权
抱歉,您的浏览器不支持PDF预览,请点击链接下载PDF文件