专利数据库
统计分析
产业报告
专利数据监控
产业人才
行业动态
产业政策法规
维权援助
个人中心
详情
文本
图像
标题
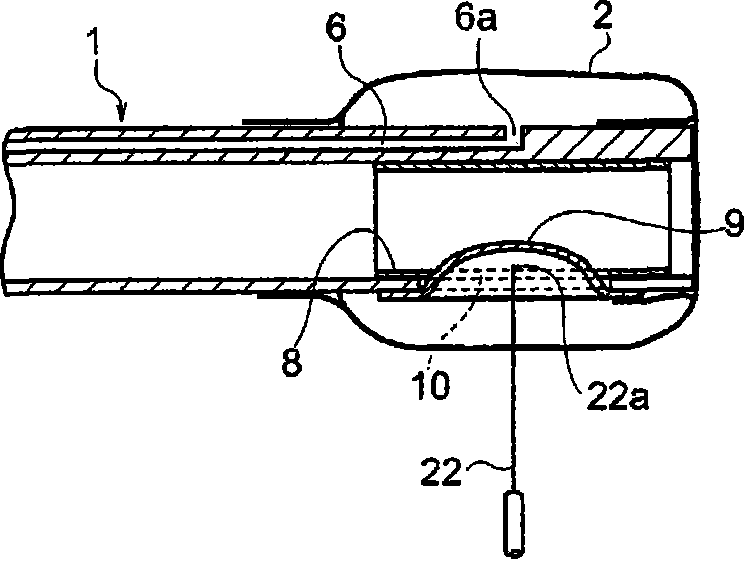
带穿刺用球囊的导管
授权日
2012-10-31
公开(公告)号
CN101903061B
申请日
2007-12-18
公开(公告)日
2012-10-31
当前申请(专利权)人
住友电木株式会社 | 大石英人
发明人
大石英人 | 坂口幸彦
简单同族
CA2709783A1 | CA2709783C | CN101903061A | CN101903061B | EP2226090A1 | EP2226090A4 | EP2226090B1 | HK1152260A | HK1152260A1 | JP5059875B2 | JPWO2009078097A1 | KR101385970B1 | KR1020100093579A | US20100318094A1 | US8486100 | WO2009078097A1
简单同族成员数量
16
简单同族被引用专利总数
35
诉讼案件数
0
法律状态/事件
授权
抱歉,您的浏览器不支持PDF预览,请点击链接下载PDF文件