专利数据库
统计分析
产业报告
专利数据监控
产业人才
行业动态
产业政策法规
维权援助
个人中心
详情
文本
图像
标题
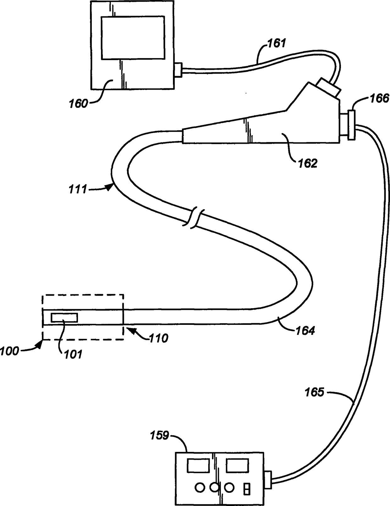
在胃肠道中烧蚀以实现止血并根治倾向出血的创伤
授权日
1900-01-01
公开(公告)号
CN102688092A
申请日
2008-07-03
公开(公告)日
2012-09-26
当前申请(专利权)人
柯惠有限合伙公司
发明人
D・S・厄特利 | M・P・瓦雷斯 | B・C・格伯丁
简单同族
AU2008275316A1 | AU2008275316B2 | BRPI0813579A2 | CA2692669A1 | CN101778605A | CN102688092A | CN102688092B | EP2170202A1 | HK1176539A | HK1176539A1 | JP2010532702A | JP2010532702A5 | JP2014208303A | JP5835895B2 | KR101513926B1 | KR101547931B1 | KR1020100058465A | KR1020140116228A | MX2010000168A | TW200916048A | US20090012513A1 | US20130226173A1 | US8439908 | WO2009009444A1
简单同族成员数量
24
简单同族被引用专利总数
126
诉讼案件数
0
法律状态/事件
授权 | 权利转移
抱歉,您的浏览器不支持PDF预览,请点击链接下载PDF文件