专利数据库
统计分析
产业报告
专利数据监控
产业人才
行业动态
产业政策法规
维权援助
个人中心
详情
文本
图像
标题
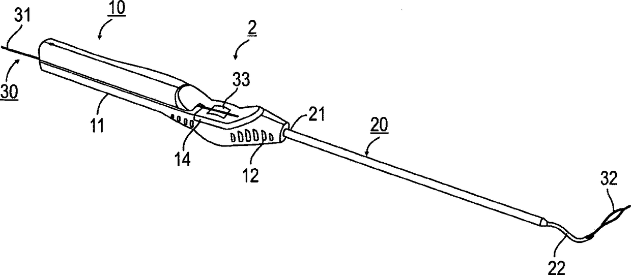
内窥镜手术中特别有用的侧向加载医疗器械
授权日
2014-07-30
公开(公告)号
CN102316810B
申请日
2010-02-17
公开(公告)日
2014-07-30
当前申请(专利权)人
戴皮米泰克有限公司
发明人
兰·奥伦 | 埃兰·扎凯 | 雅罗恩·菲尔斯特 | 阿叶·米罗奇尼克 | 艾安·克龙肯登 | 凯文·迈肯尼 | 梅根·斯坎隆 | 马克托·奥拉
简单同族
AU2010215109A1 | AU2010215109B2 | AU2015238825A1 | AU2015238825B2 | BRPI1005996A2 | BRPI1005996B1 | CA2751739A1 | CA2751739C | CN102316810A | CN102316810B | EP2403416A1 | EP2403416B1 | JP2012517853A | JP5594609B2 | US10441271 | US20110301621A1 | US20160038139A1 | US9155534 | WO2010095132A1
简单同族成员数量
19
简单同族被引用专利总数
20
诉讼案件数
0
法律状态/事件
授权
抱歉,您的浏览器不支持PDF预览,请点击链接下载PDF文件