专利数据库
统计分析
产业报告
专利数据监控
产业人才
行业动态
产业政策法规
维权援助
个人中心
详情
文本
图像
标题
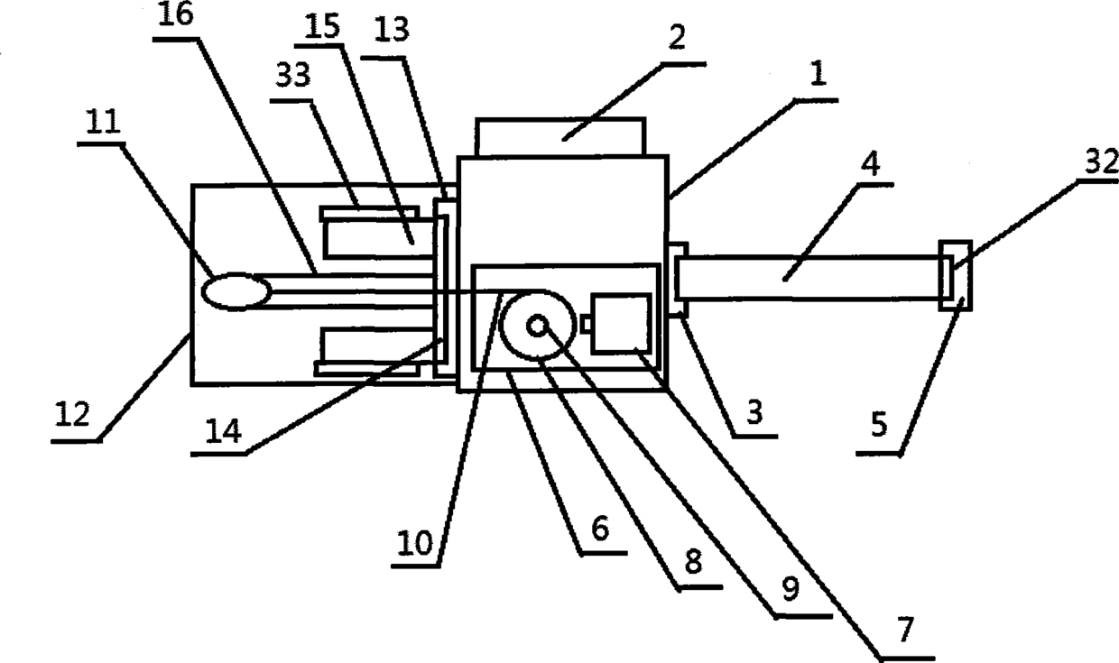
消化内科用可收回式内窥检查镜
授权日
2015-04-01
公开(公告)号
CN204233097U
申请日
2014-11-19
公开(公告)日
2015-04-01
当前申请(专利权)人
董淼
发明人
董淼
简单同族
CN204233097U
简单同族成员数量
1
简单同族被引用专利总数
0
诉讼案件数
0
法律状态/事件
未缴年费
抱歉,您的浏览器不支持PDF预览,请点击链接下载PDF文件