专利数据库
统计分析
产业报告
专利数据监控
产业人才
行业动态
产业政策法规
维权援助
个人中心
详情
文本
图像
标题
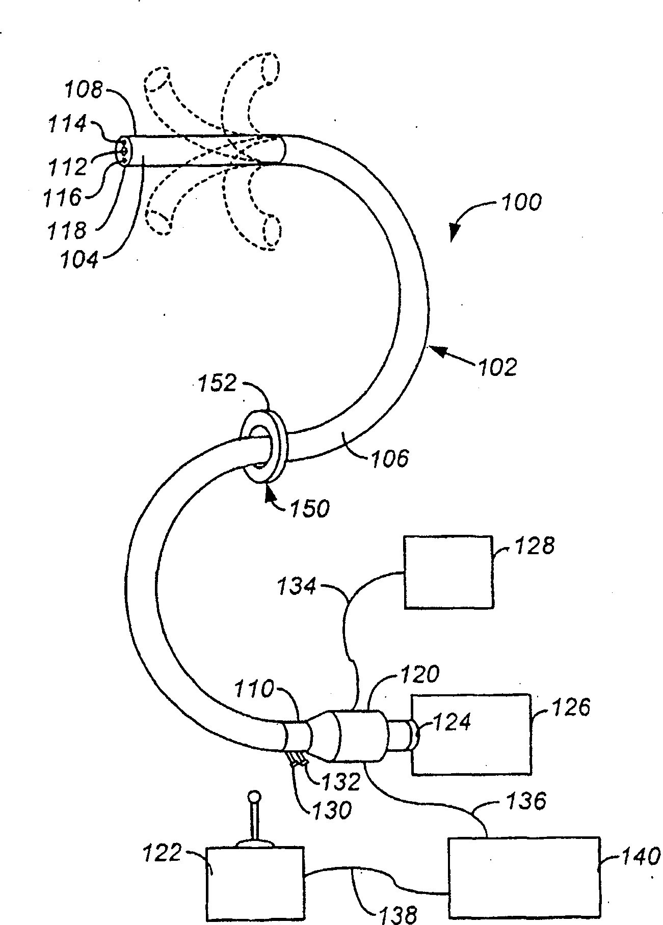
用于通过改进的能量基和非能量基形式递送便于组织治疗的装置和方法
授权日
1900-01-01
公开(公告)号
CN101420898A
申请日
2005-01-28
公开(公告)日
2009-04-29
当前申请(专利权)人
新引导系统公司
发明人
A·贝尔森 | M·欧林
简单同族
CN101420898A | IL176681D0 | JP2012024595A | JP2012024596A | US20050165276A1
简单同族成员数量
5
简单同族被引用专利总数
71
诉讼案件数
0
法律状态/事件
撤回
抱歉,您的浏览器不支持PDF预览,请点击链接下载PDF文件