专利数据库
统计分析
产业报告
专利数据监控
产业人才
行业动态
产业政策法规
维权援助
个人中心
详情
文本
图像
标题
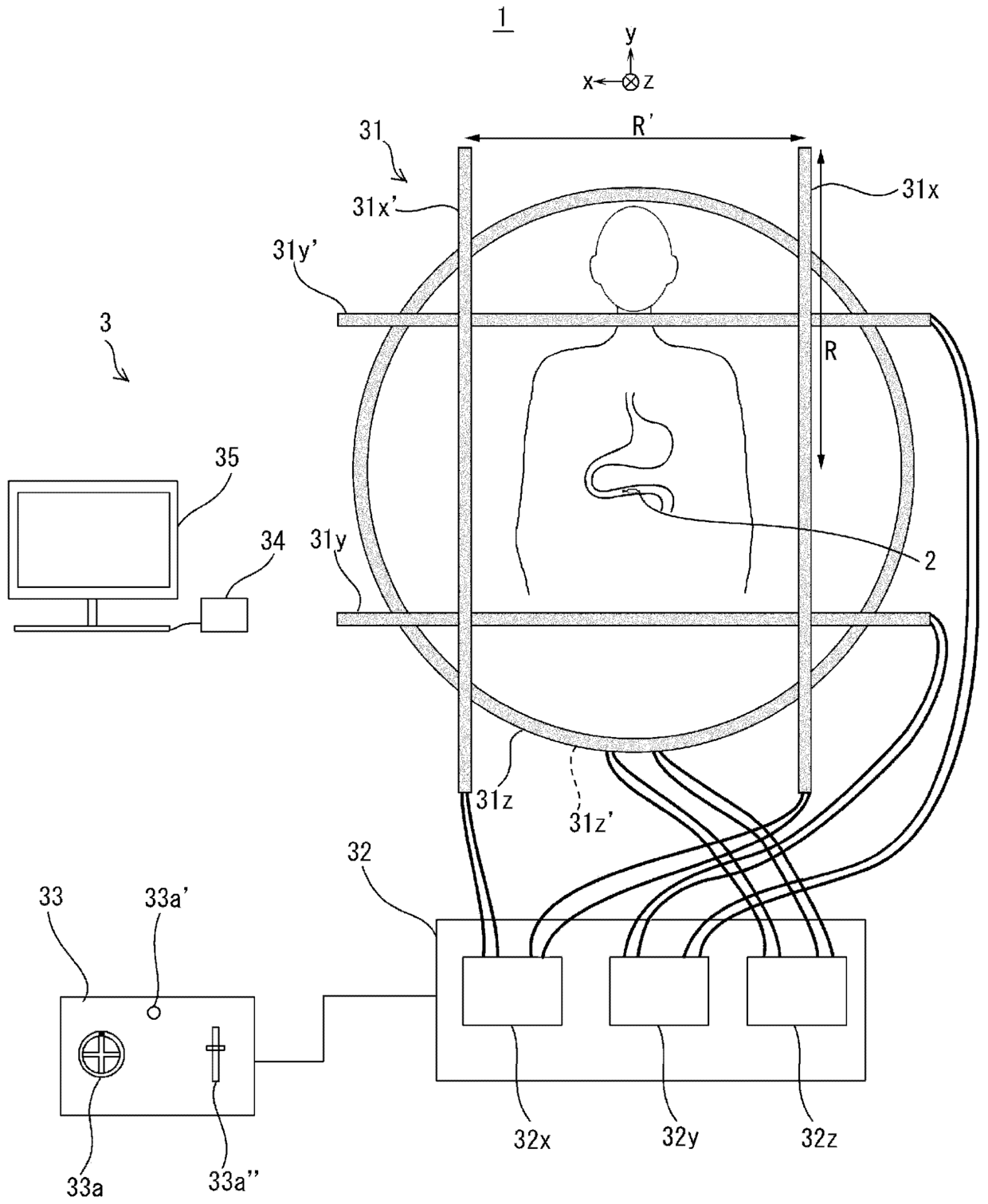
医疗装置
授权日
2016-12-14
公开(公告)号
CN103648352B
申请日
2012-09-03
公开(公告)日
2016-12-14
当前申请(专利权)人
株式会社MU
发明人
西原弘训 | 大塚尚武 | 进藤康则 | 樋口和秀
简单同族
CN103648352A | CN103648352B | EP2735258A1 | EP2735258A4 | EP2735258B1 | JP2013066694A | JP5916031B2 | US20140187862A1 | US9339170 | WO2013035665A1
简单同族成员数量
10
简单同族被引用专利总数
25
诉讼案件数
0
法律状态/事件
授权
抱歉,您的浏览器不支持PDF预览,请点击链接下载PDF文件