专利数据库
统计分析
产业报告
专利数据监控
产业人才
行业动态
产业政策法规
维权援助
个人中心
详情
文本
图像
标题
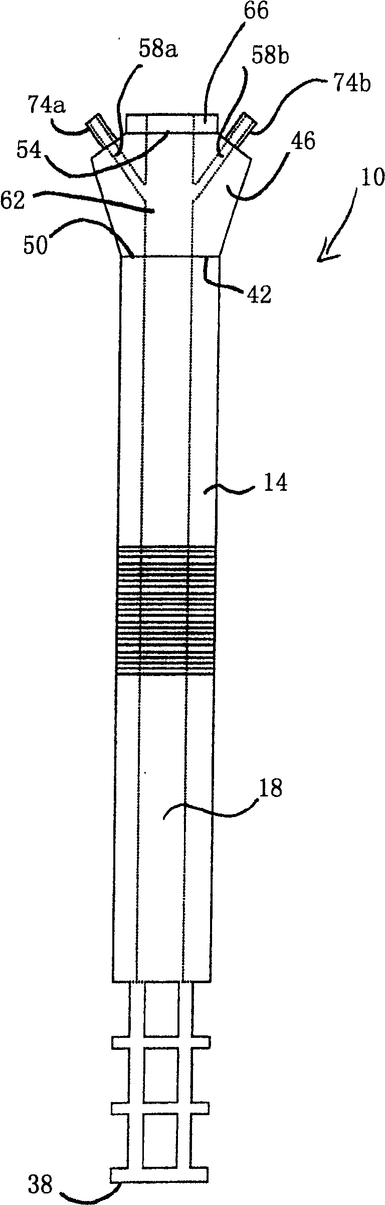
胃肠灌洗系统
授权日
2009-07-01
公开(公告)号
CN100506142C
申请日
2004-05-11
公开(公告)日
2009-07-01
当前申请(专利权)人
C·N·康蒂斯
发明人
C·N·康蒂斯
简单同族
BRPI0413424A | BRPI0413424A2 | CA2535129A1 | CA2535129C | CN100506142C | CN1845698A | EP1659924A1 | EP1659924A4 | HK1084314A | JP2007501650A | JP2007501650A5 | JP4574617B2 | MXPA06001498A | US20050096503A1 | US20110082418A1 | US20120277666A1 | US20130261394A1 | US6939293 | US8187218 | US8496611 | US9492067 | WO2005016134A1 | WO2005016134B1
简单同族成员数量
23
简单同族被引用专利总数
34
诉讼案件数
0
法律状态/事件
授权
抱歉,您的浏览器不支持PDF预览,请点击链接下载PDF文件