专利数据库
统计分析
产业报告
专利数据监控
产业人才
行业动态
产业政策法规
维权援助
个人中心
详情
文本
图像
标题
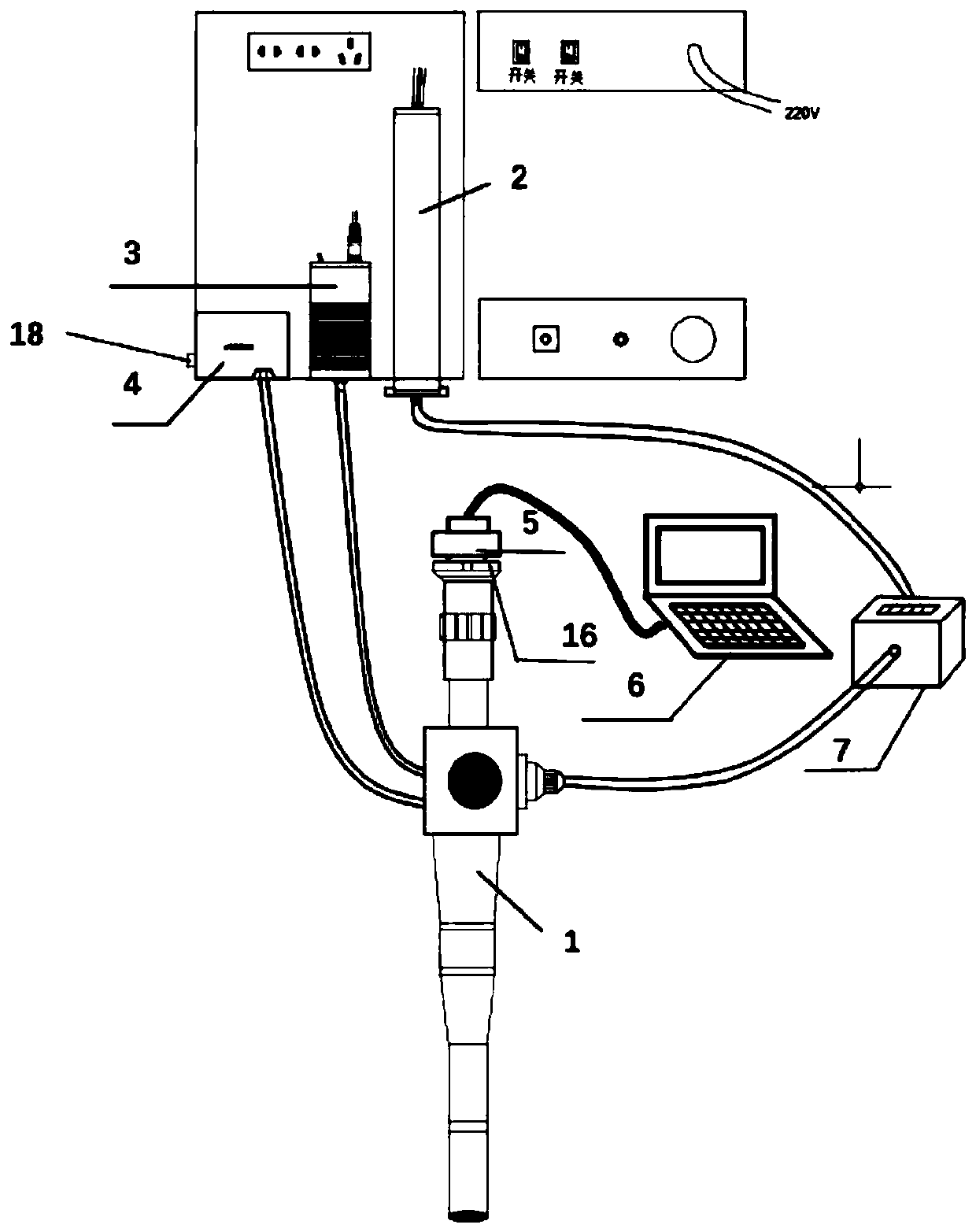
内窥式激光散斑血流血氧成像系统
授权日
1900-01-01
公开(公告)号
CN110151108A
申请日
2019-05-10
公开(公告)日
2019-08-23
当前申请(专利权)人
南京航空航天大学
发明人
李韪韬 | 张欢 | 钱志余 | 王康 | 赵月梅 | 张雅檬
简单同族
CN110151108A
简单同族成员数量
1
简单同族被引用专利总数
0
诉讼案件数
0
法律状态/事件
实质审查
抱歉,您的浏览器不支持PDF预览,请点击链接下载PDF文件