专利数据库
统计分析
产业报告
专利数据监控
产业人才
行业动态
产业政策法规
维权援助
个人中心
详情
文本
图像
标题
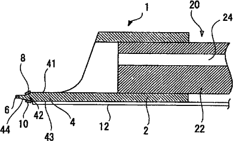
具有切除功能的帽附件和内窥镜
授权日
2010-05-12
公开(公告)号
CN101111200B
申请日
2005-12-15
公开(公告)日
2010-05-12
当前申请(专利权)人
国立大学法人京都大学
发明人
宫本心一 | 新田孝幸
简单同族
CN101111200A | CN101111200B | EP1834599A1 | EP1834599A4 | JP5205612B2 | JPWO2006064868A1 | KR1020070097497A | US20080132759A1 | WO2006064868A1
简单同族成员数量
9
简单同族被引用专利总数
29
诉讼案件数
0
法律状态/事件
未缴年费
抱歉,您的浏览器不支持PDF预览,请点击链接下载PDF文件