专利数据库
统计分析
产业报告
专利数据监控
产业人才
行业动态
产业政策法规
维权援助
个人中心
详情
文本
图像
标题
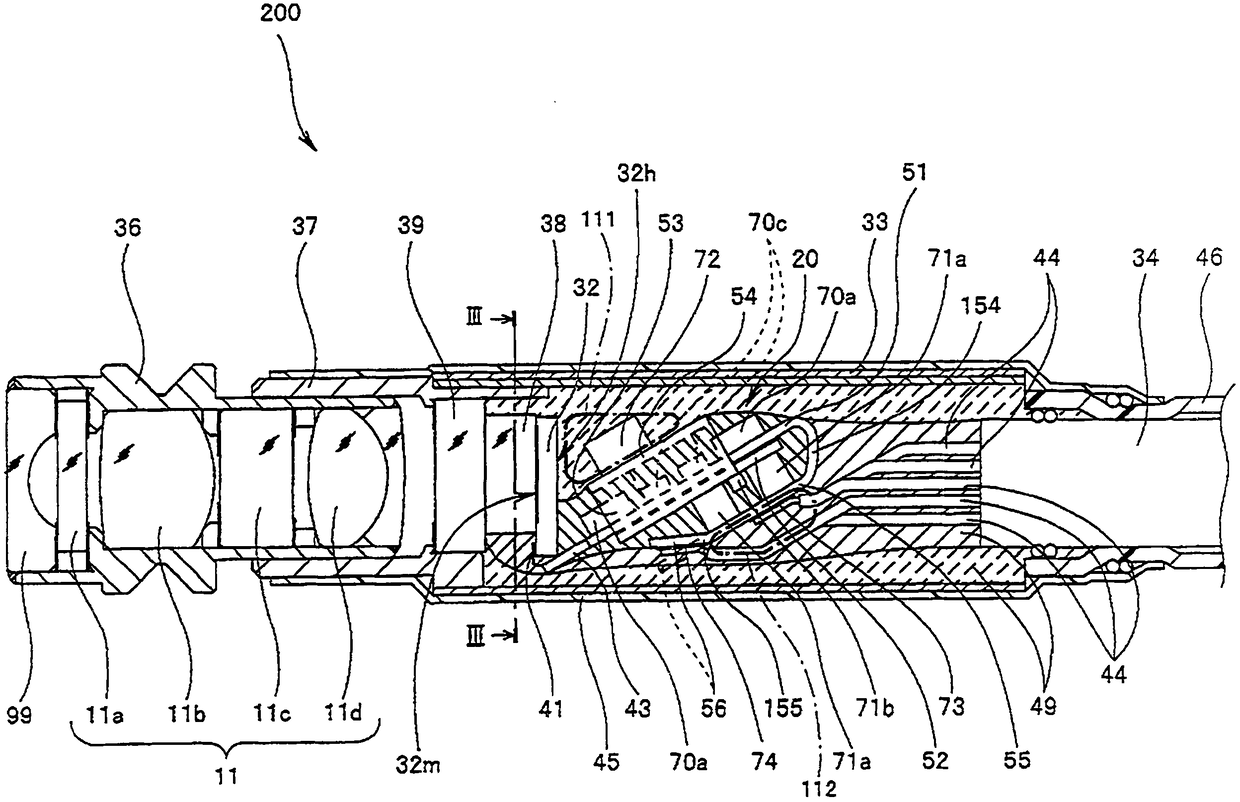
摄像装置、内窥镜
授权日
2011-11-09
公开(公告)号
CN101548535B
申请日
2007-10-02
公开(公告)日
2011-11-09
当前申请(专利权)人
奥林巴斯株式会社
发明人
石井广 | 石田雄也 | 粂井一裕 | 秋叶一芳
简单同族
CN101548535A | CN101548535B | EP2134078A1 | EP2134078A4 | JP2008177701A | JP4682158B2 | US20090268019A1 | US20150358518A1 | WO2008087771A1
简单同族成员数量
9
简单同族被引用专利总数
67
诉讼案件数
0
法律状态/事件
授权 | 权利转移
抱歉,您的浏览器不支持PDF预览,请点击链接下载PDF文件