专利数据库
统计分析
产业报告
专利数据监控
产业人才
行业动态
产业政策法规
维权援助
个人中心
详情
文本
图像
标题
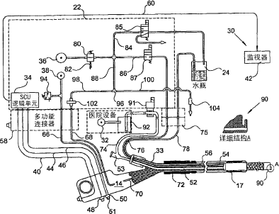
用于将流体介质供应到内窥镜的改进的控制系统
授权日
1900-01-01
公开(公告)号
CN101296648A
申请日
2006-07-05
公开(公告)日
2008-10-29
当前申请(专利权)人
斯特赖克GI有限公司
发明人
G·萨勒曼
简单同族
AU2006273675A1 | BRPI0614120A2 | CA2616348A1 | CN101296648A | EP1906808A2 | JP2009502299A | KR1020080043771A | RU2007148078A | US20070027359A1 | WO2007013055A2 | WO2007013055A3
简单同族成员数量
11
简单同族被引用专利总数
24
诉讼案件数
0
法律状态/事件
撤回
抱歉,您的浏览器不支持PDF预览,请点击链接下载PDF文件