专利数据库
统计分析
产业报告
专利数据监控
产业人才
行业动态
产业政策法规
维权援助
个人中心
详情
文本
图像
标题
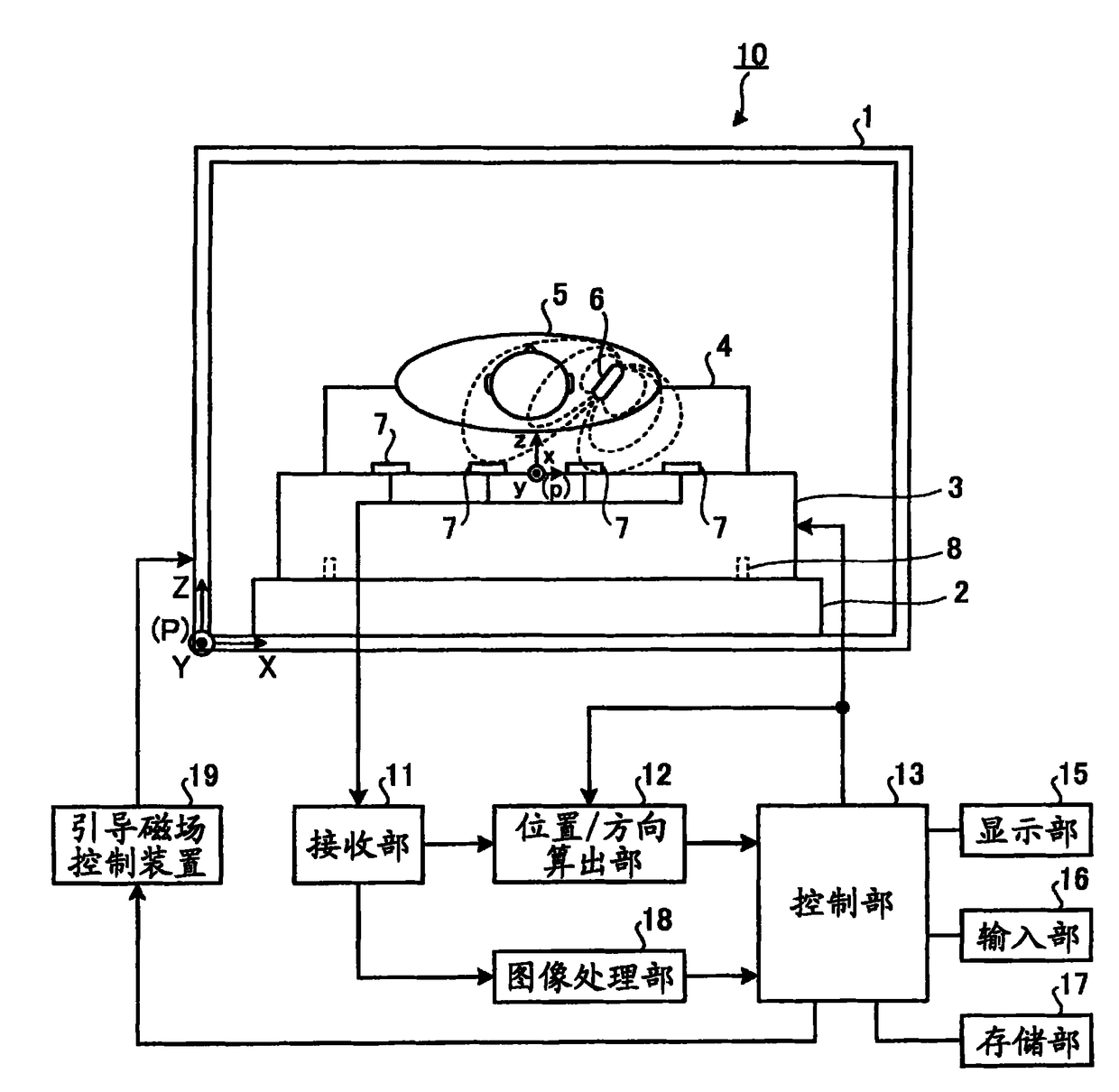
胶囊引导系统
授权日
2012-05-30
公开(公告)号
CN101511255B
申请日
2007-08-27
公开(公告)日
2012-05-30
当前申请(专利权)人
奥林巴斯株式会社
发明人
内山昭夫 | 佐藤良次 | 木村敦志 | 千叶淳 | 泷泽宽伸 | 森健 | 药袋哲夫
简单同族
CN101511255A | CN101511255B | EP2057931A1 | EP2057931A4 | EP2057931B1 | JP2008054774A | JP5084200B2 | KR101067175B1 | KR1020090035627A | US20090227840A1 | WO2008026549A1
简单同族成员数量
11
简单同族被引用专利总数
38
诉讼案件数
0
法律状态/事件
未缴年费 | 权利转移
抱歉,您的浏览器不支持PDF预览,请点击链接下载PDF文件