专利数据库
统计分析
产业报告
专利数据监控
产业人才
行业动态
产业政策法规
维权援助
个人中心
详情
文本
图像
标题
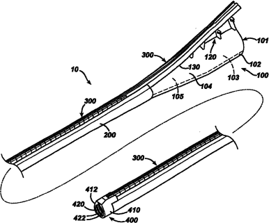
与内窥镜一起使用的改进的护套
授权日
1900-01-01
公开(公告)号
CN1861015A
申请日
2006-05-15
公开(公告)日
2006-11-15
当前申请(专利权)人
伊西康内外科公司
发明人
戴维·斯蒂芬奇克 | 里克·D·阿普尔盖特 | 鲁道夫·H·诺比斯
简单同族
AR055948A1 | AU2006202015A1 | BRPI0602589A | BRPI0602589A2 | CA2546877A1 | CN1861015A | DE602006007750D1 | EP1721564A2 | EP1721564A3 | EP1721564B1 | ES2327441T3 | JP2006341088A | KR1020060117281A | SG127824A1 | US20060258908A1 | US7905830
简单同族成员数量
16
简单同族被引用专利总数
108
诉讼案件数
0
法律状态/事件
撤回
抱歉,您的浏览器不支持PDF预览,请点击链接下载PDF文件