专利数据库
统计分析
产业报告
专利数据监控
产业人才
行业动态
产业政策法规
维权援助
个人中心
详情
文本
图像
标题
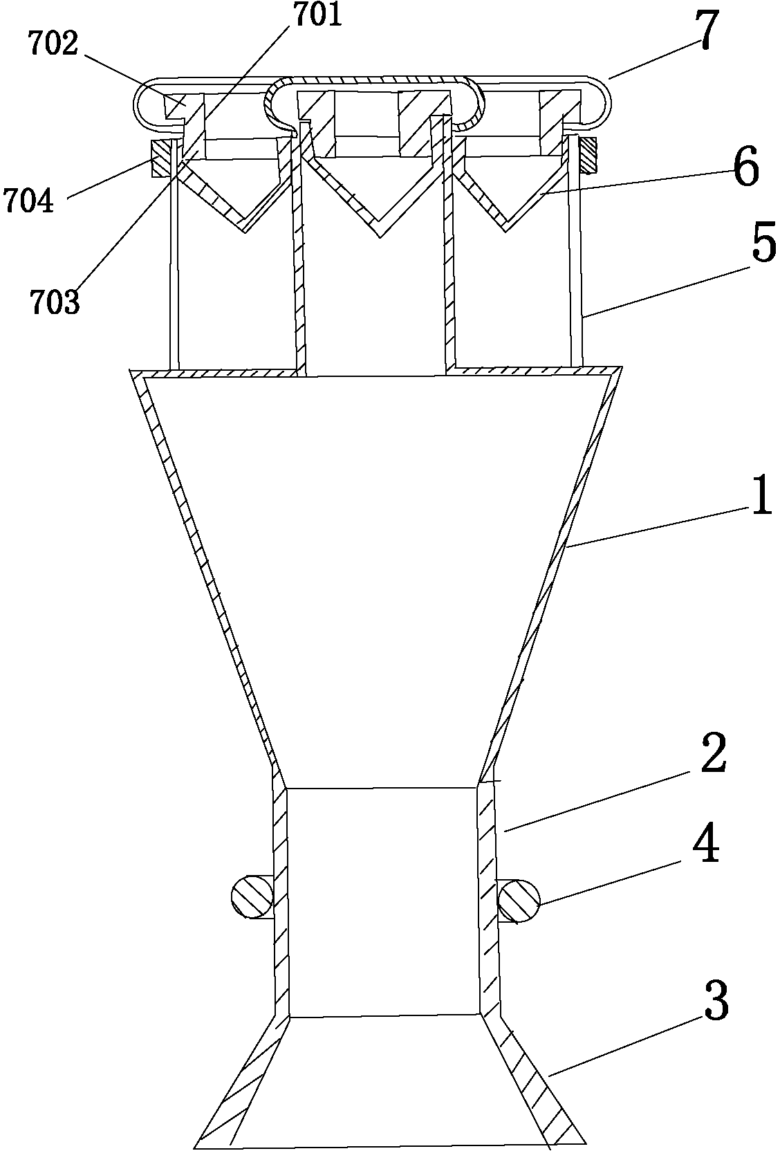
腹腔镜多通道固定支架用单向瓣膜固定结构
授权日
2013-12-25
公开(公告)号
CN203354579U
申请日
2013-06-06
公开(公告)日
2013-12-25
当前申请(专利权)人
中国人民解放军南京军区南京总医院
发明人
汤黎明 | 彭涛 | 曹勇民 | 江志伟
简单同族
CN203354579U
简单同族成员数量
1
简单同族被引用专利总数
0
诉讼案件数
0
法律状态/事件
未缴年费
抱歉,您的浏览器不支持PDF预览,请点击链接下载PDF文件