专利数据库
统计分析
产业报告
专利数据监控
产业人才
行业动态
产业政策法规
维权援助
个人中心
详情
文本
图像
标题
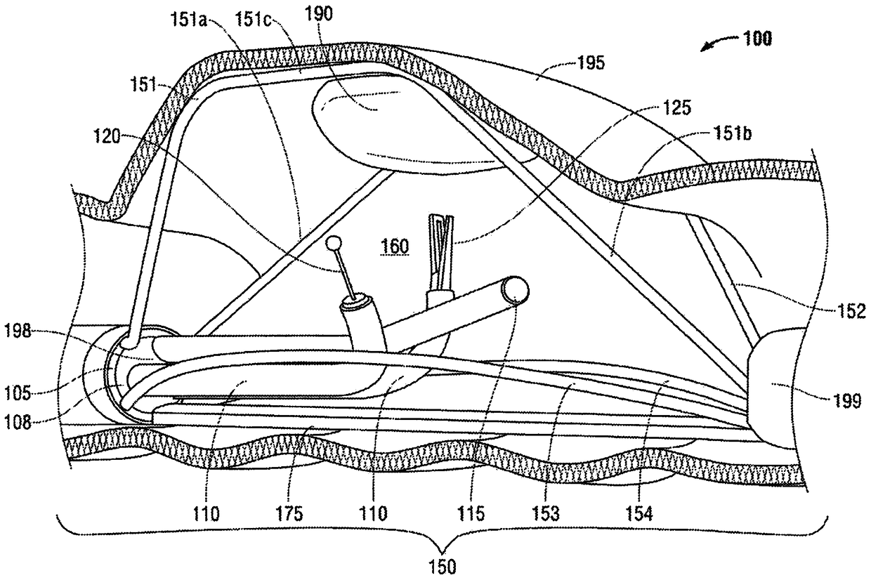
用于最低限度侵入胃肠道手术治疗的多腔导管式牵开器系统
授权日
1900-01-01
公开(公告)号
CN104470414A
申请日
2013-06-17
公开(公告)日
2015-03-25
当前申请(专利权)人
波士顿科学希梅德公司
发明人
G·皮斯肯 | J·杜 | M·法布罗 | B·唐 | S·康德塞沃
简单同族
AU2013277448A1 | AU2017251833A1 | CA2883783A1 | CN104470414A | CN104470414B | EP2863791A1 | EP2863791B1 | EP3669745A1 | JP2015525109A | JP2018122126A | JP2018122126A5 | JP6356667B2 | KR1020150048706A | WO2013192116A1
简单同族成员数量
14
简单同族被引用专利总数
26
诉讼案件数
0
法律状态/事件
授权 | 权利转移
抱歉,您的浏览器不支持PDF预览,请点击链接下载PDF文件