专利数据库
统计分析
产业报告
专利数据监控
产业人才
行业动态
产业政策法规
维权援助
个人中心
详情
文本
图像
标题
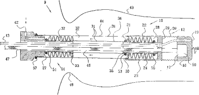
双套筒内窥镜
授权日
2005-08-31
公开(公告)号
CN1216565C
申请日
2001-08-21
公开(公告)日
2005-08-31
当前申请(专利权)人
赛特莱恩技术有限公司
发明人
雅各布·巴罗 | 米夏埃尔·沃洛申 | 达恩·奥兹
简单同族
AU2001282467A1 | CA2421232A1 | CN1216565C | CN1471372A | EP1315445A2 | EP1315445A4 | EP1315445B1 | IL138237A | IL138237D0 | JP2004508082A | JP2004508082A5 | JP4875825B2 | US20040143161A1 | US7056283 | WO2002019886A2 | WO2002019886A3
简单同族成员数量
16
简单同族被引用专利总数
73
诉讼案件数
0
法律状态/事件
未缴年费
抱歉,您的浏览器不支持PDF预览,请点击链接下载PDF文件