专利数据库
统计分析
产业报告
专利数据监控
产业人才
行业动态
产业政策法规
维权援助
个人中心
详情
文本
图像
标题
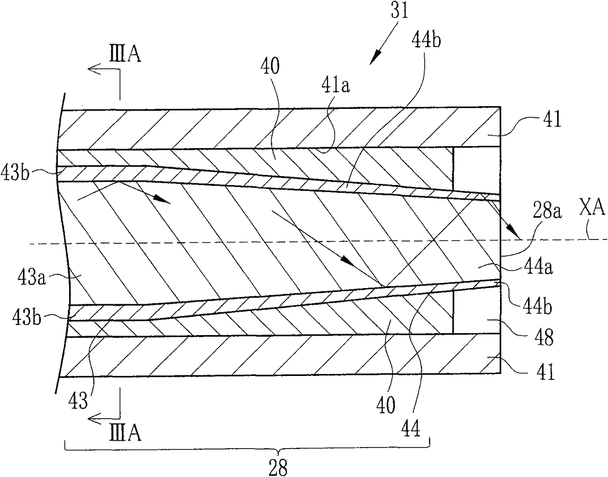
光导、光源设备和内窥镜系统
授权日
2013-11-27
公开(公告)号
CN101846765B
申请日
2010-02-12
公开(公告)日
2013-11-27
当前申请(专利权)人
富士胶片株式会社
发明人
下津臣一
简单同族
CN101846765A | CN101846765B | JP2010186100A | JP5198312B2 | US20100210911A1 | US8403836
简单同族成员数量
6
简单同族被引用专利总数
40
诉讼案件数
0
法律状态/事件
授权
抱歉,您的浏览器不支持PDF预览,请点击链接下载PDF文件