专利数据库
统计分析
产业报告
专利数据监控
产业人才
行业动态
产业政策法规
维权援助
个人中心
详情
文本
图像
标题
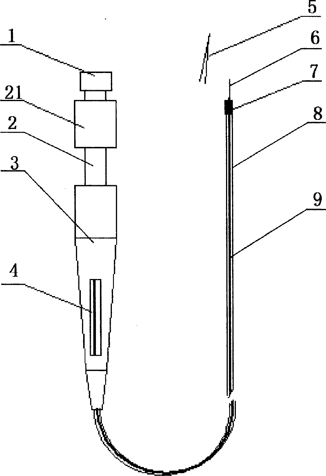
一次性内窥镜注射针
授权日
2013-11-20
公开(公告)号
CN203290869U
申请日
2013-05-08
公开(公告)日
2013-11-20
当前申请(专利权)人
北京中科盛康科技有限公司
发明人
文章 | 江乐阳 | 马力
简单同族
CN203290869U
简单同族成员数量
1
简单同族被引用专利总数
0
诉讼案件数
0
法律状态/事件
授权
抱歉,您的浏览器不支持PDF预览,请点击链接下载PDF文件