专利数据库
统计分析
产业报告
专利数据监控
产业人才
行业动态
产业政策法规
维权援助
个人中心
详情
文本
图像
标题
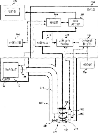
对焦控制装置、内窥镜装置以及对焦控制方法
授权日
2017-02-15
公开(公告)号
CN103748494B
申请日
2012-05-31
公开(公告)日
2017-02-15
当前申请(专利权)人
奥林巴斯株式会社
发明人
吉野浩一郎 | 樋口圭司
简单同族
CN103748494A | CN103748494B | EP2749923A1 | EP2749923A4 | EP2749923B1 | JP2013061618A | JP2013061618A5 | JP5948076B2 | US20140111628A1 | US9485405 | WO2013027460A1
简单同族成员数量
11
简单同族被引用专利总数
41
诉讼案件数
0
法律状态/事件
授权
抱歉,您的浏览器不支持PDF预览,请点击链接下载PDF文件