专利数据库
统计分析
产业报告
专利数据监控
产业人才
行业动态
产业政策法规
维权援助
个人中心
详情
文本
图像
标题
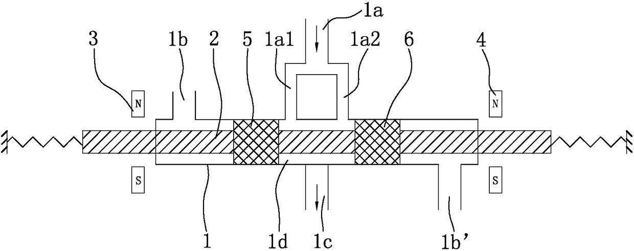
一种流体切换电磁阀及装有该电磁阀的内窥镜
授权日
2017-09-26
公开(公告)号
CN206522507U
申请日
2017-01-06
公开(公告)日
2017-09-26
当前申请(专利权)人
重庆金山医疗器械有限公司
发明人
王聪 | 蒋青林 | 邓安鹏 | 周健
简单同族
CN206522507U
简单同族成员数量
1
简单同族被引用专利总数
0
诉讼案件数
0
法律状态/事件
授权
抱歉,您的浏览器不支持PDF预览,请点击链接下载PDF文件