专利数据库
统计分析
产业报告
专利数据监控
产业人才
行业动态
产业政策法规
维权援助
个人中心
详情
文本
图像
标题
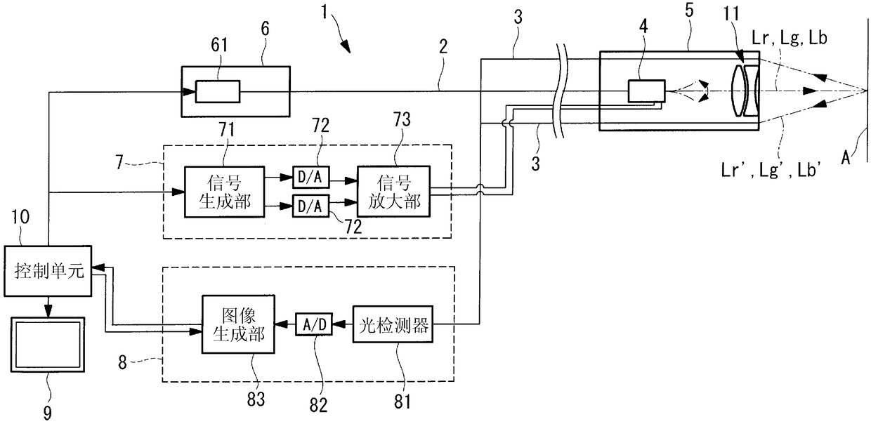
扫描型内窥镜装置
授权日
1900-01-01
公开(公告)号
CN103347432A
申请日
2012-03-01
公开(公告)日
2013-10-09
当前申请(专利权)人
奥林巴斯医疗株式会社
发明人
岛田朋子 | 吉野真广 | 道口信行 | 武井俊二
简单同族
CN103347432A | JPWO2012132754A1 | US20130155215A1 | WO2012132754A1
简单同族成员数量
4
简单同族被引用专利总数
37
诉讼案件数
0
法律状态/事件
撤回
抱歉,您的浏览器不支持PDF预览,请点击链接下载PDF文件