专利数据库
统计分析
产业报告
专利数据监控
产业人才
行业动态
产业政策法规
维权援助
个人中心
详情
文本
图像
标题
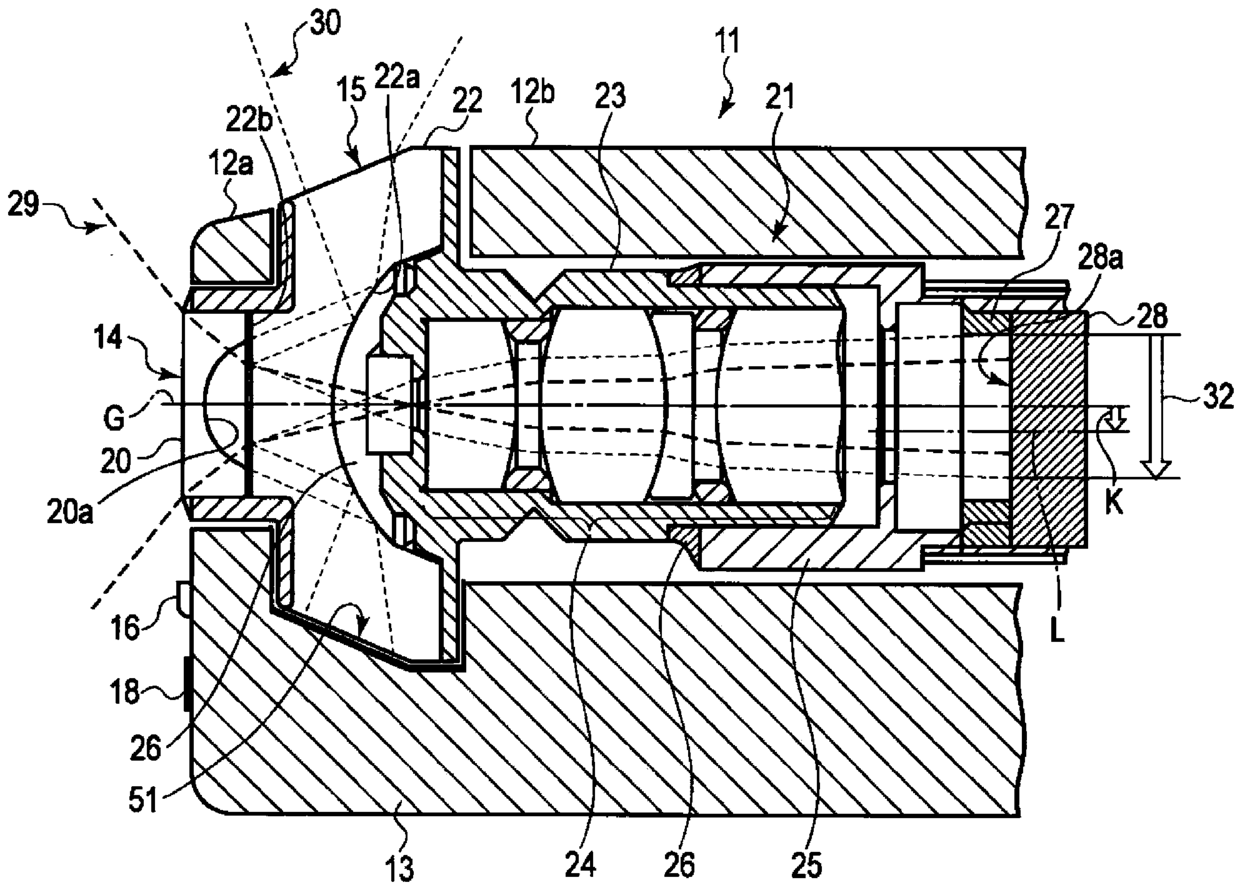
内窥镜装置
授权日
1900-01-01
公开(公告)号
CN104853665A
申请日
2013-12-05
公开(公告)日
2015-08-19
当前申请(专利权)人
奥林巴斯株式会社
发明人
本田一树
简单同族
CN104853665A | CN104853665B | EP2929830A1 | EP2929830A4 | EP2929830B1 | JP5698879B2 | JPWO2014088076A1 | US20150265136A1 | US9526402 | WO2014088076A1
简单同族成员数量
10
简单同族被引用专利总数
36
诉讼案件数
0
法律状态/事件
授权
抱歉,您的浏览器不支持PDF预览,请点击链接下载PDF文件