专利数据库
统计分析
产业报告
专利数据监控
产业人才
行业动态
产业政策法规
维权援助
个人中心
详情
文本
图像
标题
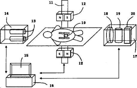
主动式红外无线胶囊内视镜系统
授权日
1900-01-01
公开(公告)号
CN101849814A
申请日
2010-05-26
公开(公告)日
2010-10-06
当前申请(专利权)人
上海理工大学
发明人
贾宏志 | 王东琳 | 鹿焕才 | 吴伯淳 | 魏葰
简单同族
CN101849814A | CN101849814B
简单同族成员数量
2
简单同族被引用专利总数
24
诉讼案件数
0
法律状态/事件
未缴年费
抱歉,您的浏览器不支持PDF预览,请点击链接下载PDF文件