专利数据库
统计分析
产业报告
专利数据监控
产业人才
行业动态
产业政策法规
维权援助
个人中心
详情
文本
图像
标题
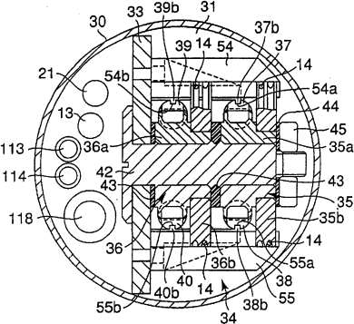
内窥镜
授权日
2008-02-06
公开(公告)号
CN201015585Y
申请日
2006-06-26
公开(公告)日
2008-02-06
当前申请(专利权)人
奥林巴斯医疗株式会社
发明人
上野晴彦 | 池田裕一 | 佐藤有亮 | 中村周至
简单同族
CN100531666C | CN1883368A | CN201015585Y | EP1913862A1 | EP1913862A4 | EP1913862B1 | JP2007000427A | US20080125628A1 | US7780593 | WO2006137255A1
简单同族成员数量
10
简单同族被引用专利总数
158
诉讼案件数
0
法律状态/事件
未缴年费
抱歉,您的浏览器不支持PDF预览,请点击链接下载PDF文件