专利数据库
统计分析
产业报告
专利数据监控
产业人才
行业动态
产业政策法规
维权援助
个人中心
详情
文本
图像
标题
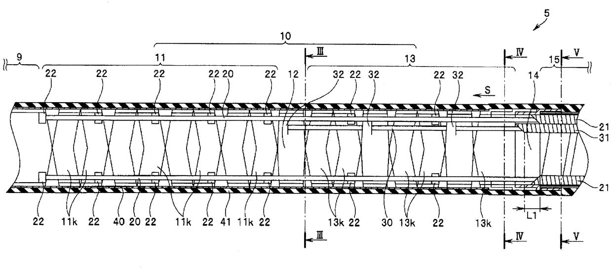
内窥镜
授权日
1900-01-01
公开(公告)号
CN102510733A
申请日
2010-10-29
公开(公告)日
2012-06-20
当前申请(专利权)人
奥林巴斯株式会社
发明人
大内直哉
简单同族
CN102510733A | CN102510733B | EP2457491A1 | EP2457491A4 | EP2457491B1 | JP4914952B2 | JPWO2011114570A1 | US20110295069A1 | WO2011114570A1
简单同族成员数量
9
简单同族被引用专利总数
34
诉讼案件数
0
法律状态/事件
未缴年费 | 权利转移
抱歉,您的浏览器不支持PDF预览,请点击链接下载PDF文件