专利数据库
统计分析
产业报告
专利数据监控
产业人才
行业动态
产业政策法规
维权援助
个人中心
详情
文本
图像
标题
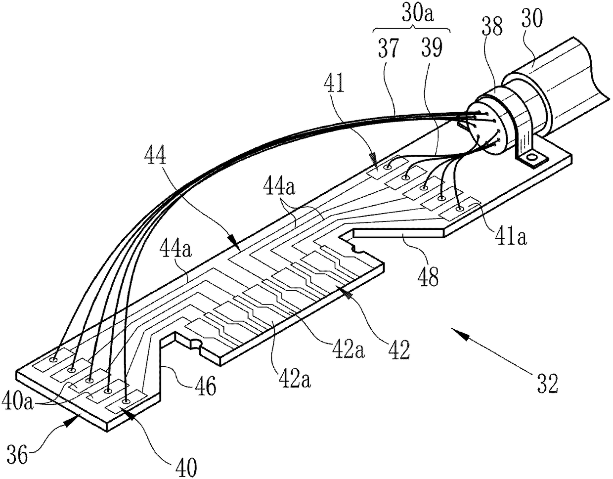
电缆连接器和内窥镜设备
授权日
1900-01-01
公开(公告)号
CN103300807A
申请日
2013-02-28
公开(公告)日
2013-09-18
当前申请(专利权)人
富士胶片株式会社
发明人
坂本利男
简单同族
CN103300807A | CN103300807B | JP2013215554A | JP5503035B2 | US20130244453A1 | US20150171526A1 | US8998619 | US9368885
简单同族成员数量
8
简单同族被引用专利总数
32
诉讼案件数
0
法律状态/事件
授权
抱歉,您的浏览器不支持PDF预览,请点击链接下载PDF文件