专利数据库
统计分析
产业报告
专利数据监控
产业人才
行业动态
产业政策法规
维权援助
个人中心
详情
文本
图像
标题
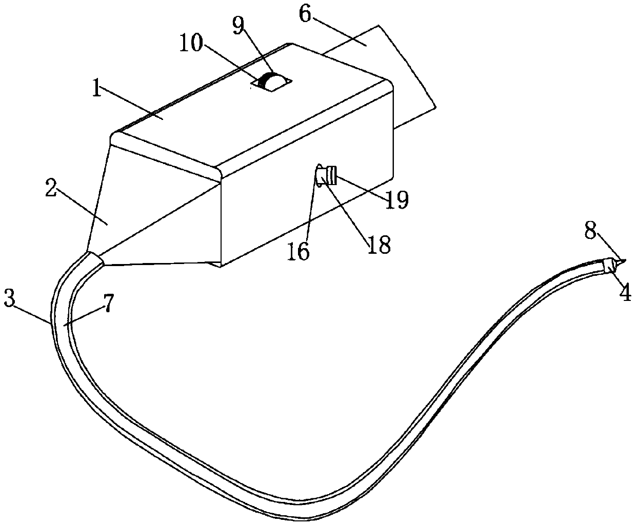
一种内窥镜用长度可调式内镜注射针
授权日
2020-04-07
公开(公告)号
CN210249775U
申请日
2019-06-05
公开(公告)日
2020-04-07
当前申请(专利权)人
江苏安特尔医疗科技有限公司
发明人
杜金德 | 谢建青 | 冯继勇
简单同族
CN210249775U
简单同族成员数量
1
简单同族被引用专利总数
0
诉讼案件数
0
法律状态/事件
授权
抱歉,您的浏览器不支持PDF预览,请点击链接下载PDF文件