专利数据库
统计分析
产业报告
专利数据监控
产业人才
行业动态
产业政策法规
维权援助
个人中心
详情
文本
图像
标题
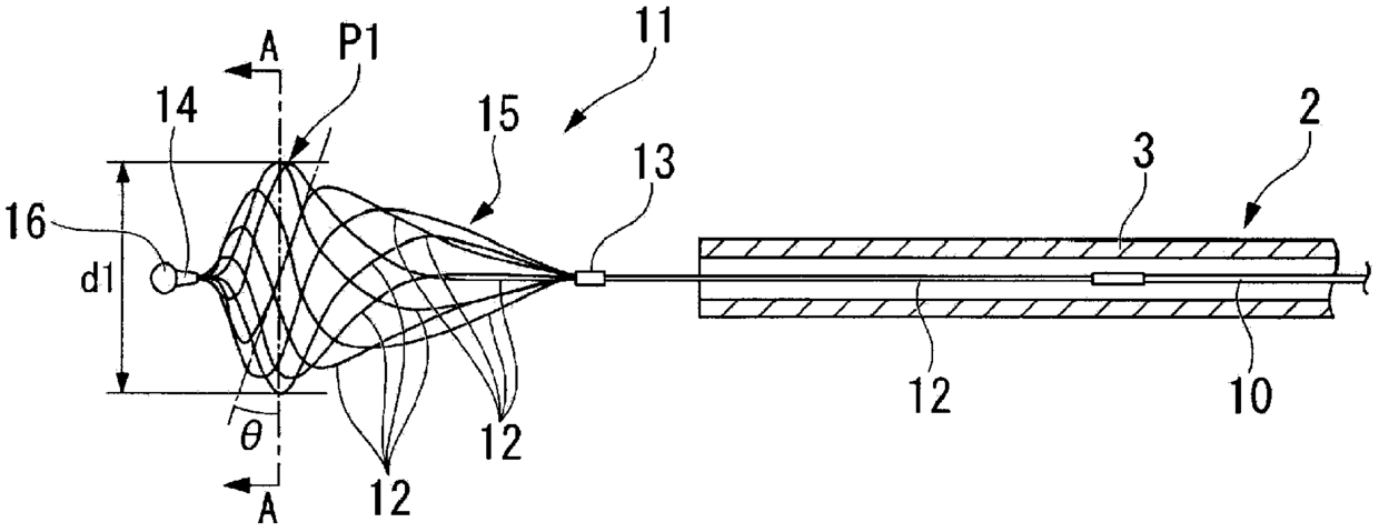
内窥镜用处理器具
授权日
2016-06-22
公开(公告)号
CN103347453B
申请日
2012-04-11
公开(公告)日
2016-06-22
当前申请(专利权)人
奥林巴斯株式会社 | 国立大学法人岐阜大学
发明人
安田一朗 | 小林司 | 矢沼丰
简单同族
CN103347453A | CN103347453B | EP2638870A1 | EP2638870A4 | EP2638870B1 | JP5252606B2 | JPWO2012141213A1 | US20140012283A1 | US9198682 | WO2012141213A1
简单同族成员数量
10
简单同族被引用专利总数
63
诉讼案件数
0
法律状态/事件
授权 | 权利转移
抱歉,您的浏览器不支持PDF预览,请点击链接下载PDF文件