专利数据库
统计分析
产业报告
专利数据监控
产业人才
行业动态
产业政策法规
维权援助
个人中心
详情
文本
图像
标题
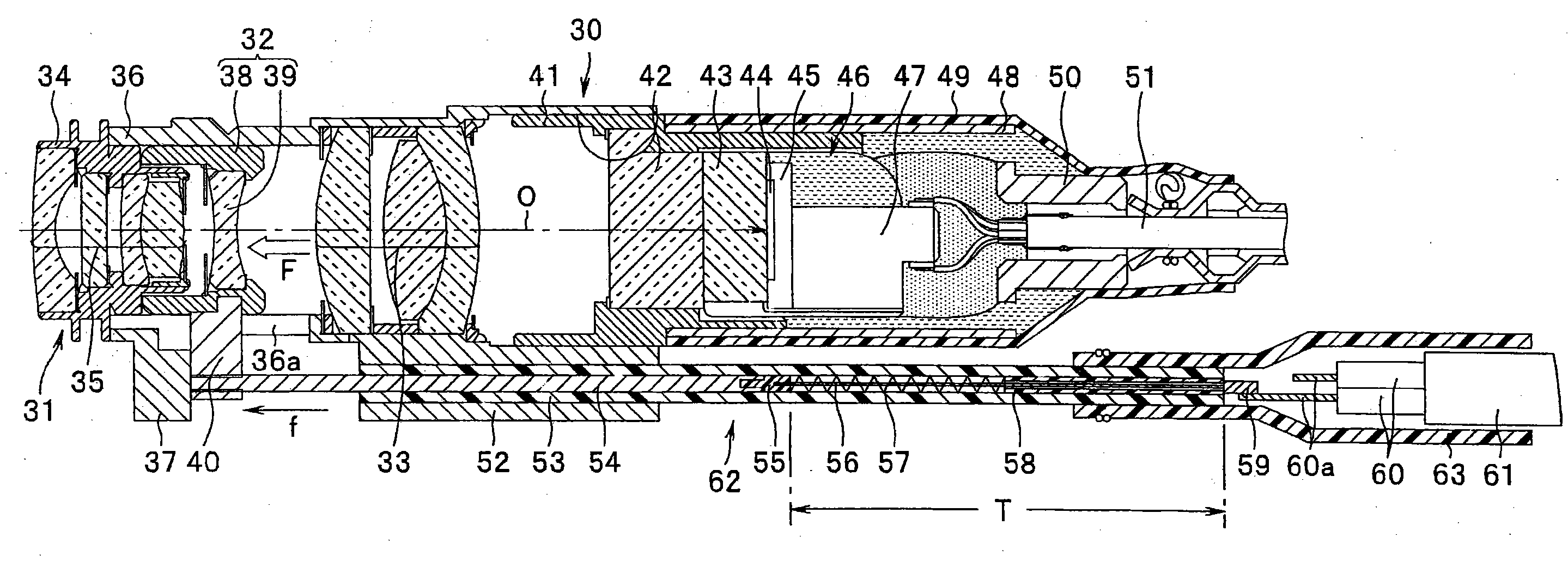
摄像装置、电子内窥镜
授权日
2011-01-05
公开(公告)号
CN101461702B
申请日
2008-12-17
公开(公告)日
2011-01-05
当前申请(专利权)人
奥林巴斯株式会社
发明人
酒井诚二 | 山下知晓 | 河内昌宏 | 三谷贵彦 | 石田雄也 | 岩崎诚二
简单同族
CN101461702A | CN101461702B | JP2009148369A | JP5030762B2
简单同族成员数量
4
简单同族被引用专利总数
52
诉讼案件数
0
法律状态/事件
授权 | 权利转移
抱歉,您的浏览器不支持PDF预览,请点击链接下载PDF文件