专利数据库
统计分析
产业报告
专利数据监控
产业人才
行业动态
产业政策法规
维权援助
个人中心
详情
文本
图像
标题
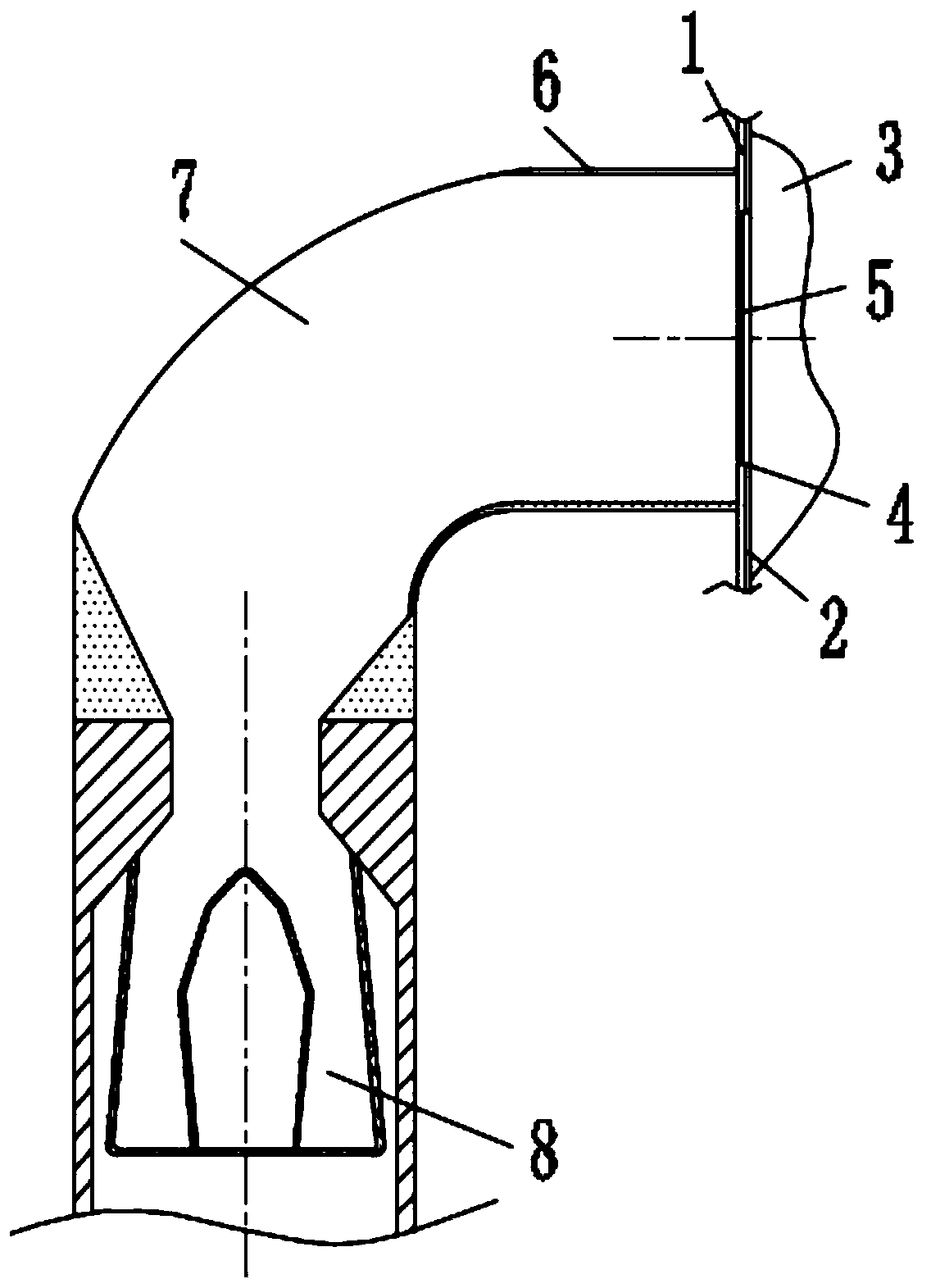
用于脊柱内窥镜手术的外部贴膜装置
授权日
1900-01-01
公开(公告)号
CN110226976A
申请日
2019-06-05
公开(公告)日
2019-09-13
当前申请(专利权)人
于凤宾
发明人
于凤宾 | 黄飞 | 朱新宏 | 陶德刚 | 诸晖 | 金剑波 | 李海堂 | 岑莲 | 廖新远
简单同族
CN110226976A
简单同族成员数量
1
简单同族被引用专利总数
0
诉讼案件数
0
法律状态/事件
实质审查
抱歉,您的浏览器不支持PDF预览,请点击链接下载PDF文件